Kickstart your Riding Season with Bike Prep and Riding Gear Shop Now
CLOSE
Shipping to US Flag United States
Free shipping over $79
Moto Madness Sale | Get Up To 65% Off Parts & Gear Shop Now

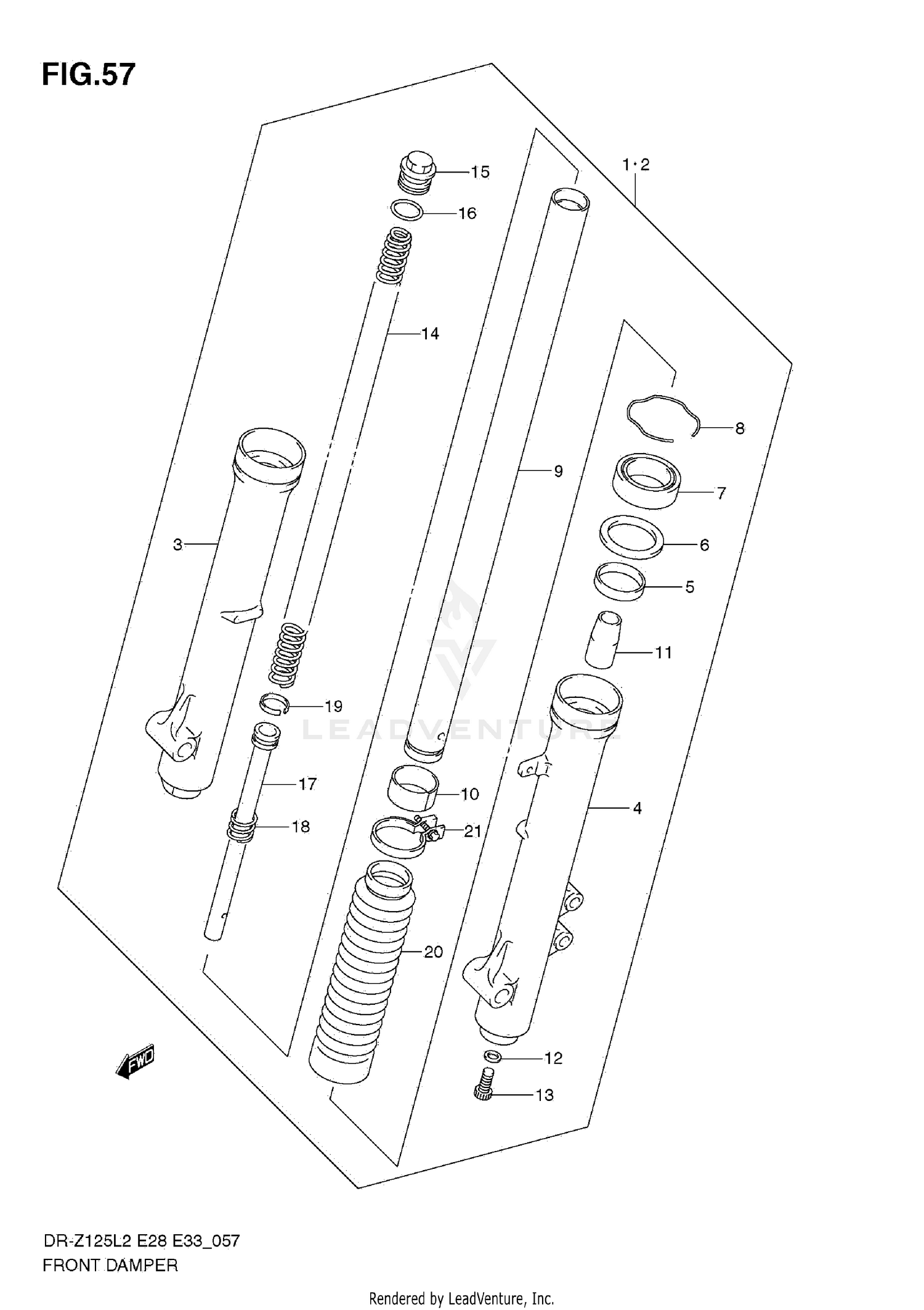
2012 Suzuki DRZ125 FRONT DAMPER (DR-Z125L E33)

Set this as my ride
FRONT DAMPER (DR-Z125L E33)

WARNING Cancer and Reproductive Harm www.P65Warnings.ca.gov.

All 2012 Suzuki DRZ125 Part Groups
Added to your cart
CLOSE