Kickstart your Riding Season with Bike Prep and Riding Gear Shop Now
CLOSE
Shipping to US Flag United States
Free shipping over $79
Bargain Bin Blowout! | Save 40-90% Off! Shop Now

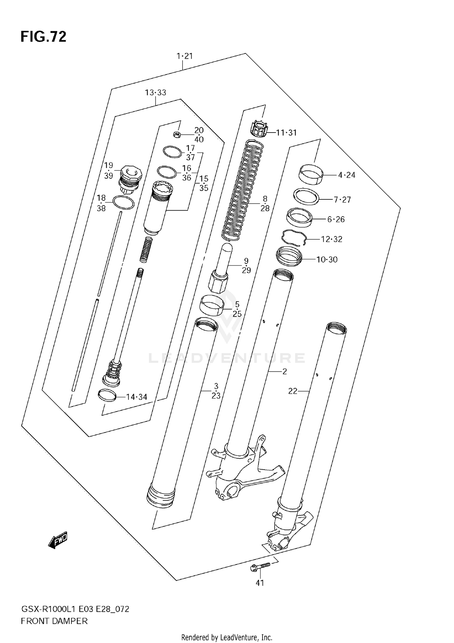
2011 Suzuki GSXR1000 FRONT DAMPER

Set this as my ride
FRONT DAMPER

WARNING Cancer and Reproductive Harm www.P65Warnings.ca.gov.

All 2011 Suzuki GSXR1000 Part Groups
Added to your cart
CLOSE