Kickstart your Riding Season with Bike Prep and Riding Gear Shop Now
CLOSE
Shipping to US Flag United States
Free shipping over $79
Fast Cash Week | Earn $10 When you Spend $99 + $25 When You Spend $199 Shop Now

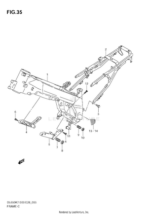
2007 Suzuki DL650 OEM Parts

Set this as my ride

View all parts for your 2007 Suzuki DL650

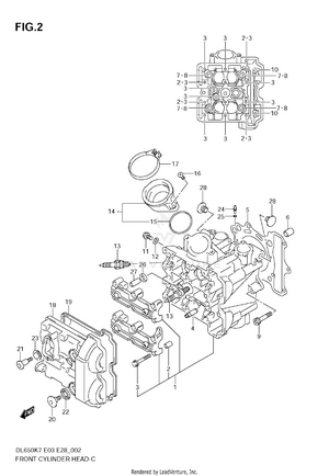
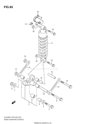
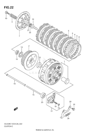
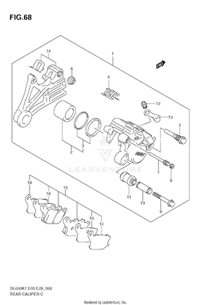
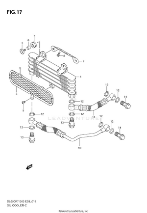
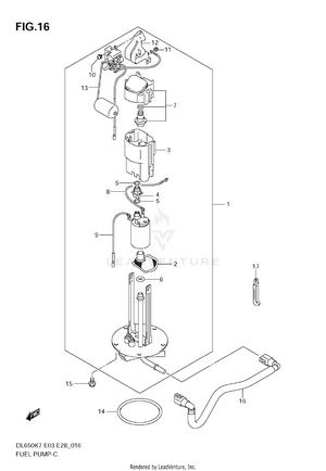
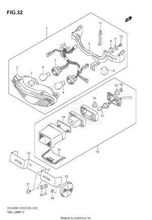
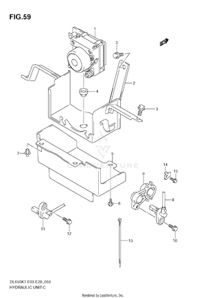
2ND AIR AIR CLEANER BATTERY BATTERY HOLDER CAM CHAIN CAMSHAFT / VALVE CARRIER CLUTCH COWL BODY INSTALLATION PARTS COWLING BODY CRANKCASE CRANKCASE COVER CRANKSHAFT CYLINDER ELECTRICAL (MODEL K7) ELECTRICAL (MODEL K8/K9) EVAPO SYSTEM (E33) FOOTREST FRAME FRAME COVER FRONT BRACKET FRONT BRAKE HOSE (DL650AK7/AK8/AK9) FRONT BRAKE HOSE (DL650K7/K8/K9) FRONT CALIPER FRONT CYLINDER HEAD FRONT DAMPER FRONT FENDER (MODEL K7) FRONT FENDER (MODEL K8) FRONT FENDER (MODEL K9) FRONT MASTER CYLINDER FRONT WHEEL (DL650AK7/AK8/AK9) FRONT WHEEL (DL650K7/K8/K9) FUEL PUMP FUEL TANK (MODEL K7) FUEL TANK (MODEL K8) FUEL TANK (MODEL K9) GASKET SET GEAR SHIFTING HANDLE LEVER HANDLE SWITCH HANDLEBAR HEADLAMP HYDRAULIC UNIT (DL650AK7/AK8/AK9) LABEL (MODEL K7) LABEL (MODEL K8/K9) MAGNETO (MODEL K7) MAGNETO (MODEL K8/K9) MUFFLER OIL COOLER OIL PUMP OPTIONAL RADIATOR RADIATOR HOSE REAR CALIPER (DL650AK7/AK8/AK9) REAR CALIPER (DL650K7/K8/K9) REAR CUSHION LEVER REAR CYLINDER HEAD REAR FENDER REAR MASTER CYLINDER (DL650AK7/AK8/AK9) REAR MASTER CYLINDER (DL650K7/K8/K9) REAR SWINGING ARM REAR WHEEL (DL650AK7/AK8/AK9) REAR WHEEL (DL650K7/K8/K9) SEAT SEAT TAIL COVER (MODEL K7) SEAT TAIL COVER (MODEL K8) SEAT TAIL COVER (MODEL K9) SIDE COWLING (MODEL K7) SIDE COWLING (MODEL K8) SIDE COWLING (MODEL K9) SIDE COWLING INSTALLATION PARTS SPEEDOMETER STAND STARTER CLUTCH STARTING MOTOR STEERING STEM TAIL LAMP THROTTLE BODY THROTTLE BODY FITTING TRANSMISSION TURNSIGNAL LAMP (MODEL K7/K8) TURNSIGNAL LAMP (MODEL K9) WATER PUMP WIRING HARNESS (DL650AK7) WIRING HARNESS (DL650AK8/AK9) WIRING HARNESS (DL650K7) WIRING HARNESS (DL650K8/K9)