Kickstart your Riding Season with Bike Prep and Riding Gear Shop Now
CLOSE
Shipping to US Flag United States
Free shipping over $79
Fast Cash Week | Earn $10 When you Spend $99 + $25 When You Spend $199 Shop Now

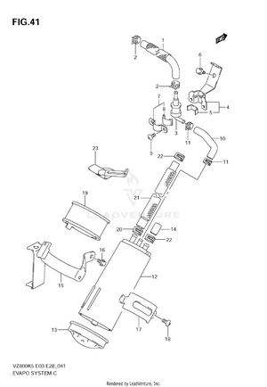
2007 Suzuki BOULEVARD M50 - VZ800B OEM Parts

Set this as my ride

View all parts for your 2007 Suzuki BOULEVARD M50 - VZ800B

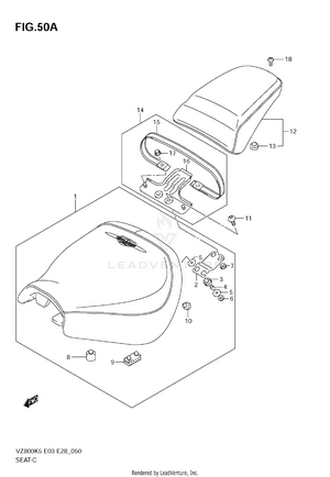
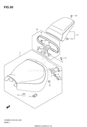
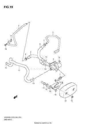
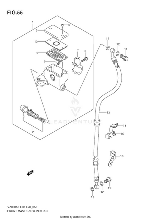
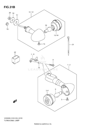
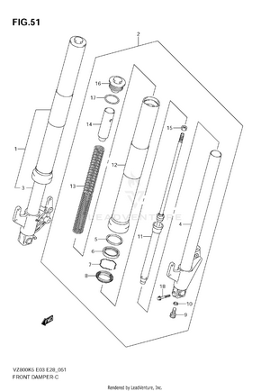
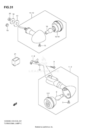
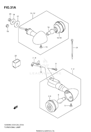
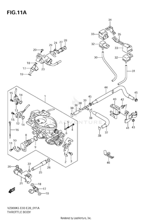
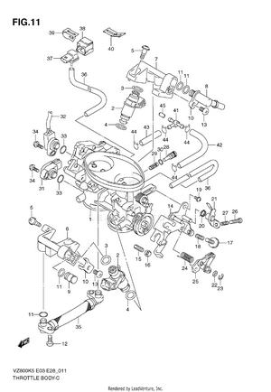
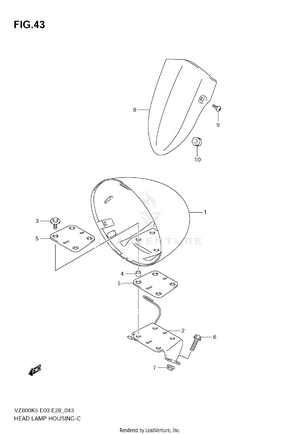
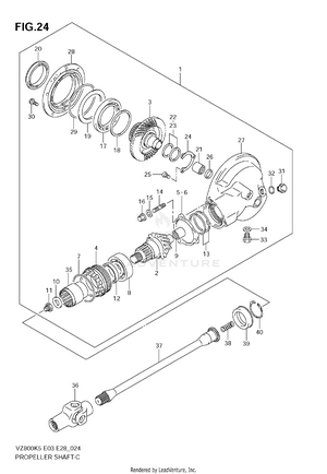
AIR CLEANER (MODEL K5/K6/K7/K8) AIR CLEANER (MODEL K9) BATTERY CAM CHAIN CAMSHAFT - VALVE CLUTCH CRANKCASE CRANKCASE COVER CRANKSHAFT CYLINDER ELECTRICAL (MODEL K5/K6/K7/K8) ELECTRICAL (MODEL K9 E3,E28) ELECTRICAL (MODEL K9 E33) EVAP SYSTEM (MODEL K5/K6/K7/K8 E33) EVAP SYSTEM (MODEL K9) FOOTREST FRAME (MODEL K5/K6/K7/K8) FRAME (MODEL K9) FRAME BRACE FRAME COVER (MODEL K9) FRAME COVER (VZ800) FRAME COVER (VZ800ZK7/ZK8) FRONT CALIPER FRONT CYLINDER HEAD (MODEL K5/K6/K7/K8) FRONT CYLINDER HEAD (MODEL K9) FRONT DAMPER FRONT FENDER FRONT MASTER CYLINDER (MODEL K5/K6) FRONT MASTER CYLINDER (MODEL K7/K8/K9) FRONT WHEEL FUEL PUMP FUEL TANK (MODEL K5/K6) FUEL TANK (MODEL K7/K8) FUEL TANK (MODEL K9) FUEL TANK COVER GASKET SET GEAR SHIFTING (MODEL K5/K6/K7/K8) GEAR SHIFTING (MODEL K9) HANDLE LEVER (MODEL K5/K6) HANDLE LEVER (MODEL K7/K8/K9) HANDLE SWITCH (MODEL K5/K6) HANDLE SWITCH (MODEL K7/K8/K9) HANDLEBAR HEADLAMP ASSY HEADLAMP HOUSING LABEL LUGGAGE BOX MAGNETO MUFFLER (MODEL K5/K6/K7/K8) MUFFLER (MODEL K9) OIL PUMP OPTIONAL PROPELLER SHAFT - FINAL DRIVE GEAR RADIATOR RADIATOR HOSE REAR COMBINATION LAMP REAR CUSHION LEVER REAR CYLINDER HEAD (MODEL K5/K6/K7/K8) REAR CYLINDER HEAD (MODEL K9) REAR FENDER (VZ800) REAR FENDER (VZ800ZK7) REAR FENDER (VZ800ZK8/ZK9) REAR SWINGING ARM REAR WHEEL SEAT (VZ800) SEAT (VZ800Z) SECOND AIR (MODEL K5/K6/K7/K8) SECOND AIR (MODEL K9) SECONDARY DRIVE GEAR SPEEDOMETER (MODEL K5/K6/K7/K8) SPEEDOMETER (MODEL K9) STAND - REAR BRAKE STARTER CLUTCH STARTING MOTOR STEERING STEM THROTTLE BODY (MODEL K5/K6/K7/K8) THROTTLE BODY (MODEL K9) TRANSMISSION TURNSIGNAL FRONT & REAR LAMP (SEE NOTE) TURNSIGNAL FRONT & REAR LAMP (VZ800K9) TURNSIGNAL FRONT & REAR LAMP (VZ800Z K9) WATER PUMP WIRING HARNESS (MODEL K5/K6/K7/K8) WIRING HARNESS (MODEL K9)