FMF Exhausts Up To 10% Off Shop Now
CLOSE
Shipping to US Flag United States
Free shipping over $79
Bargain Bin Blowout Ends Tomorrow! | Save 40-90% Off! Shop Now

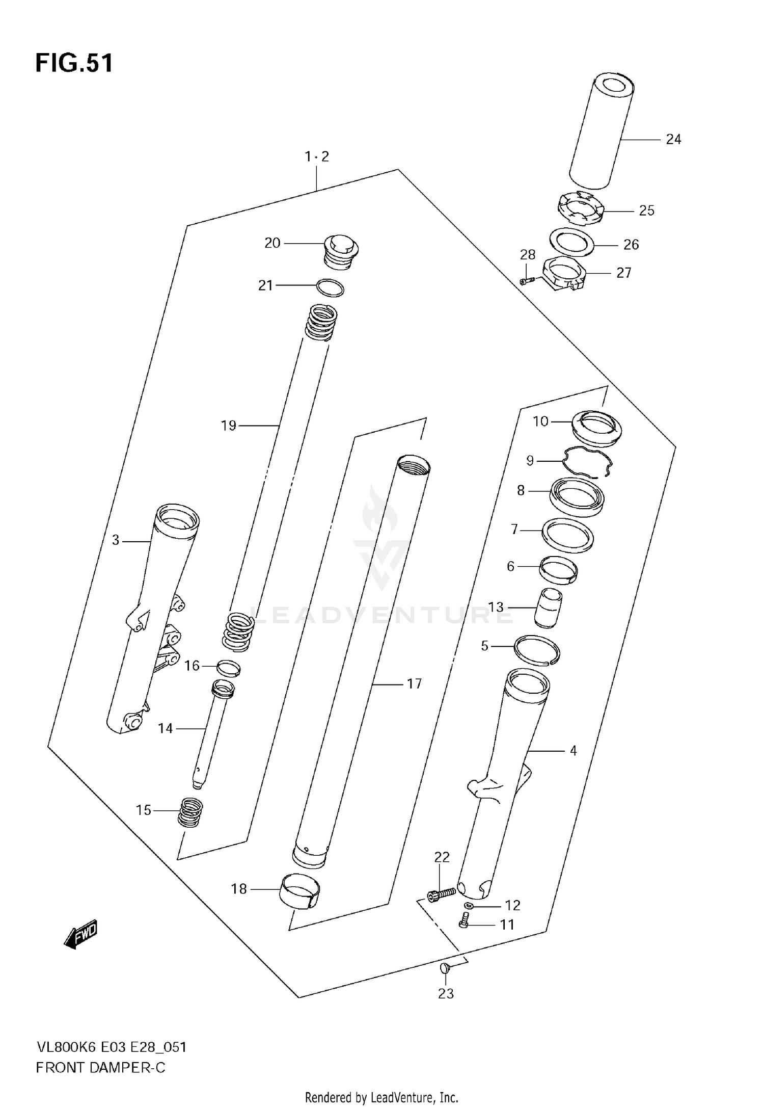
2007 Suzuki BOULEVARD C50 - VL800B FRONT DAMPER

Set this as my ride
FRONT DAMPER

WARNING Cancer and Reproductive Harm www.P65Warnings.ca.gov.

All 2007 Suzuki BOULEVARD C50 - VL800B Part Groups
Added to your cart
CLOSE