Kickstart your Riding Season with Bike Prep and Riding Gear Shop Now
CLOSE
Shipping to US Flag United States
Free shipping over $79
Moto Madness Sale | Get Up To 65% Off Parts & Gear Shop Now

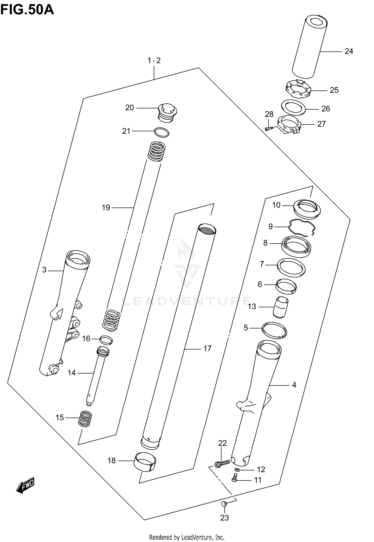
2005 Suzuki BOULEVARD C50 - VL800B FRONT DAMPER (MODEL K5)

Set this as my ride
FRONT DAMPER (MODEL K5)

WARNING Cancer and Reproductive Harm www.P65Warnings.ca.gov.

All 2005 Suzuki BOULEVARD C50 - VL800B Part Groups
Added to your cart
CLOSE