LUCKY YOU! Extra 10% Off Clearance | Use Code POTOGOLD10 Limited Time! Ends 3/21 Shop Now
CLOSE
Shipping to US Flag United States
Free shipping over $79
My Ride: 2013 Honda CRF100F
Moto Madness Sale | Get Up To 65% Off Parts & Gear Shop Now

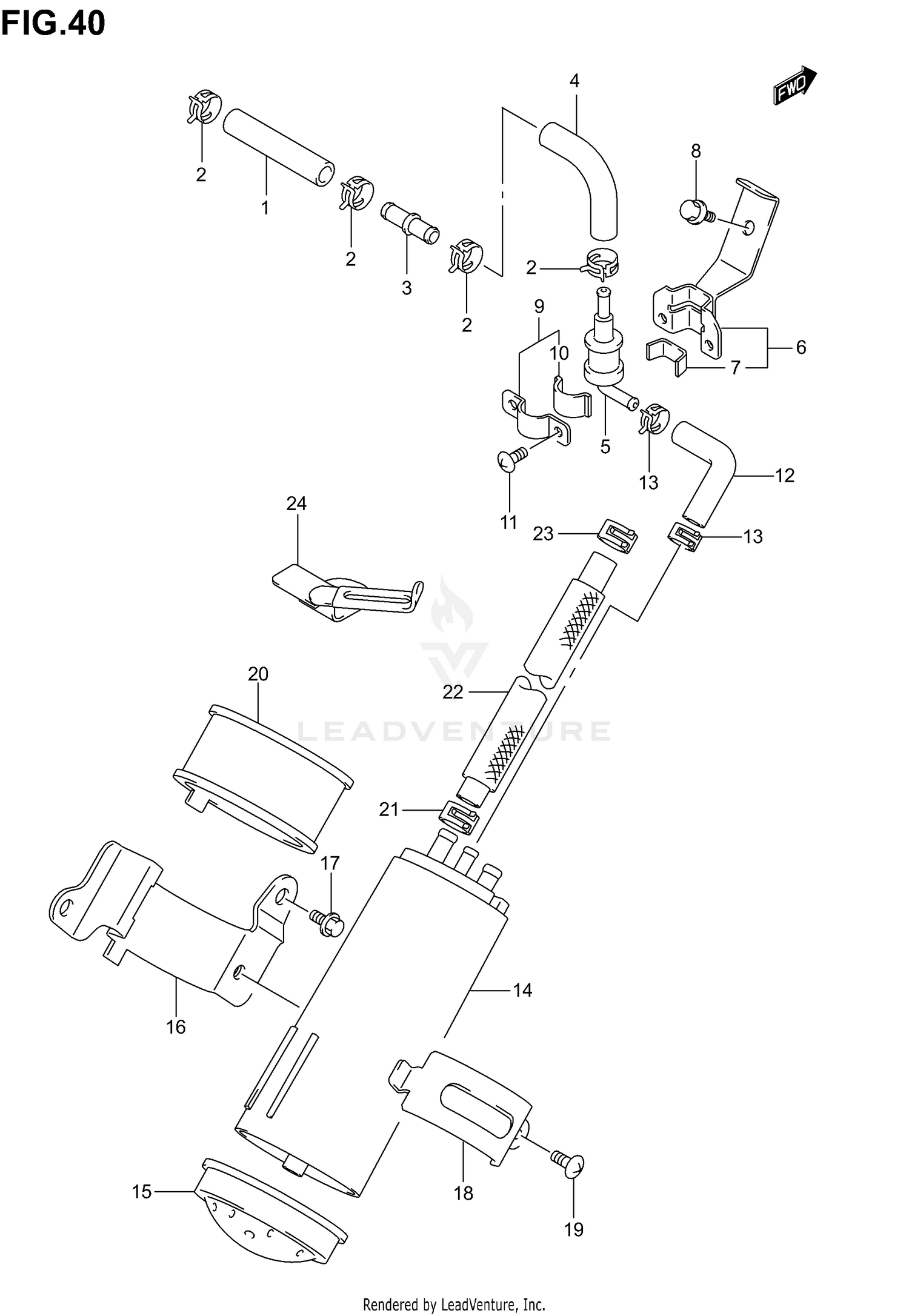
2005 Suzuki BOULEVARD C50 - VL800B EVAPO SYSTEM (MODEL K1/K2/K3/K4 E33)

Set this as my ride
EVAPO SYSTEM (MODEL K1/K2/K3/K4 E33)

WARNING Cancer and Reproductive Harm www.P65Warnings.ca.gov.

All 2005 Suzuki BOULEVARD C50 - VL800B Part Groups
Added to your cart
CLOSE