Get Out and Ride | Dialed Gear. Tuned Parts. Dirt Ready. Shop Now
CLOSE
Shipping to US Flag United States
Free shipping over $79
My Ride: 1996 Harley Davidson Ultra Classic Electra Glide - FLHTCUI
BOGOS | Buy One Get One Deals Shop Now

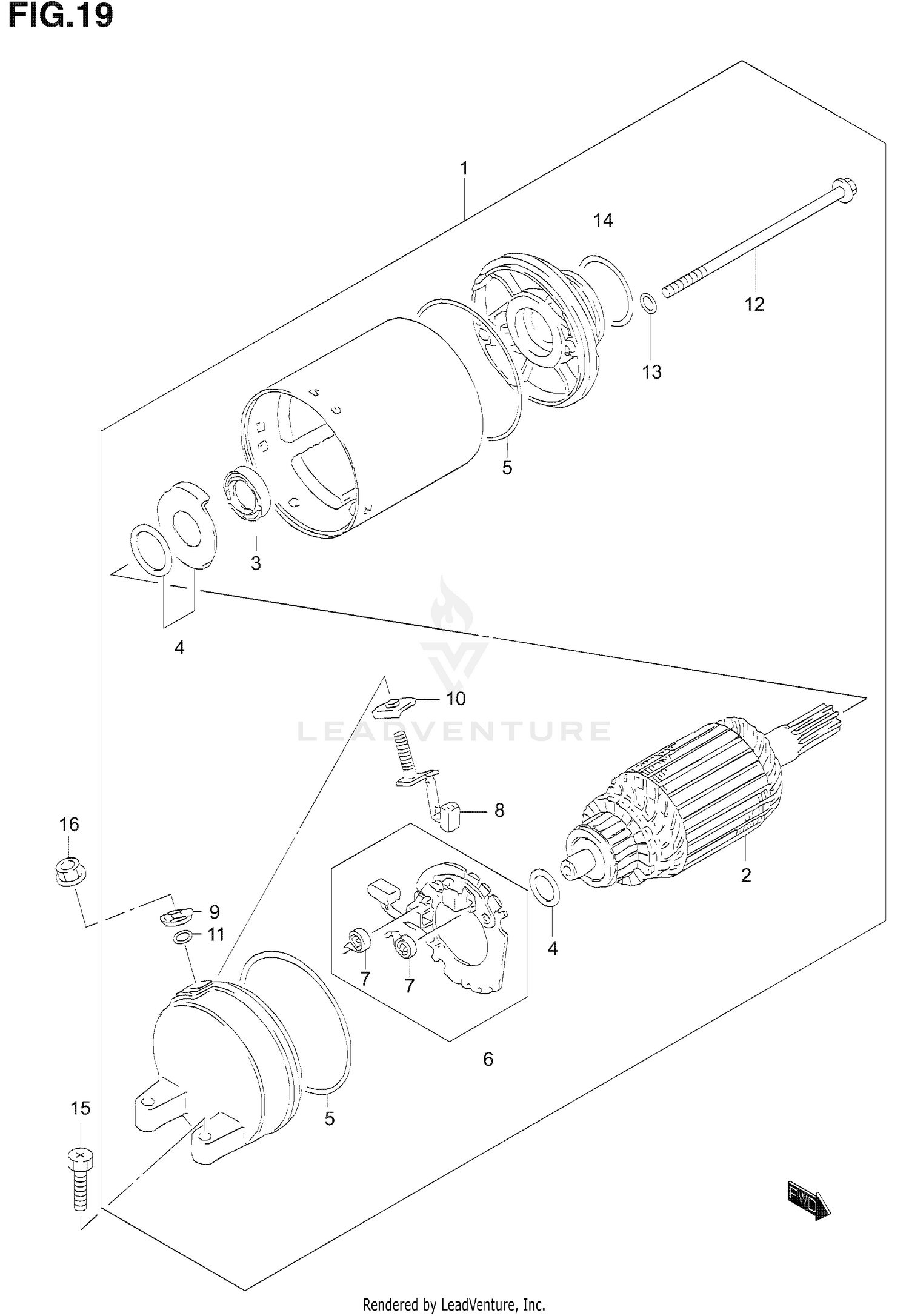
2004 Suzuki GS500F STARTING MOTOR

Set this as my ride
STARTING MOTOR

WARNING Cancer and Reproductive Harm www.P65Warnings.ca.gov.

All 2004 Suzuki GS500F Part Groups
Added to your cart
CLOSE