Kickstart your Riding Season with Bike Prep and Riding Gear Shop Now
CLOSE
Shipping to US Flag United States
Free shipping over $79
Moto Madness Sale | Get Up To 65% Off Parts & Gear Shop Now

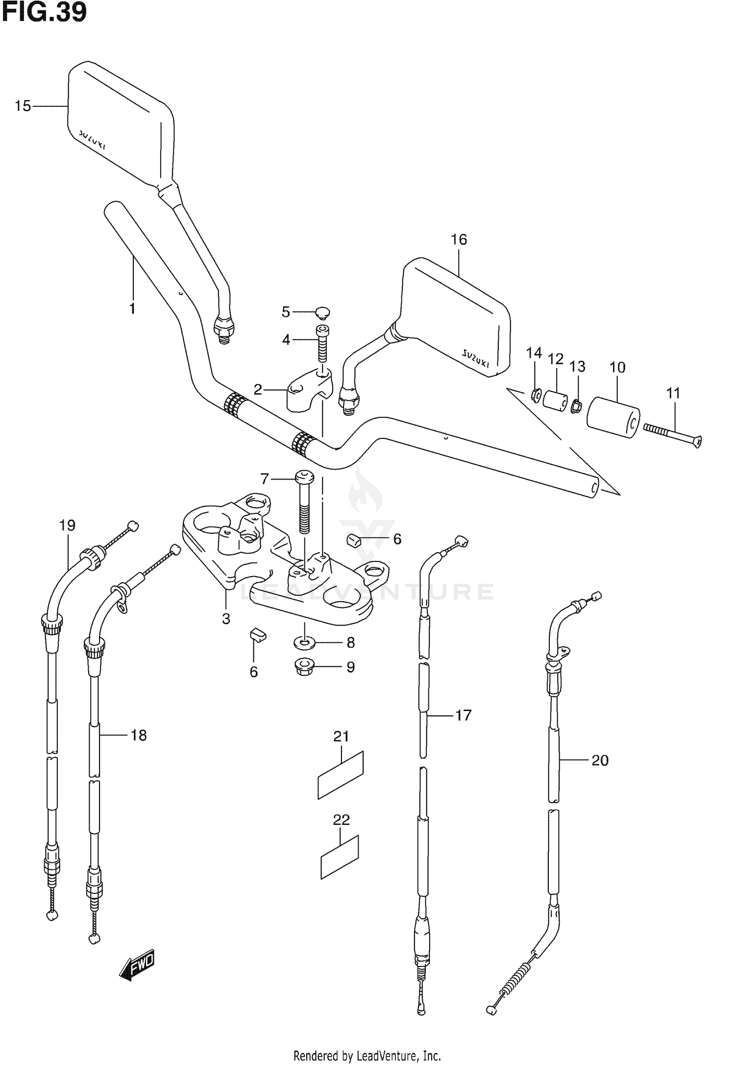
2004 Suzuki GS500F HANDLEBAR (NOT FOR U.S. MARKET)

Set this as my ride
HANDLEBAR (NOT FOR U.S. MARKET)

WARNING Cancer and Reproductive Harm www.P65Warnings.ca.gov.

All 2004 Suzuki GS500F Part Groups
Added to your cart
CLOSE