BOGOS | Buy One Get One Deals Shop Now
CLOSE
Shipping to US Flag United States
Free shipping over $79
My Ride: 2007 Polaris PREDATOR 500
Fast Cash Week | Earn $25 Fast Cash When You Spend $199 Learn More

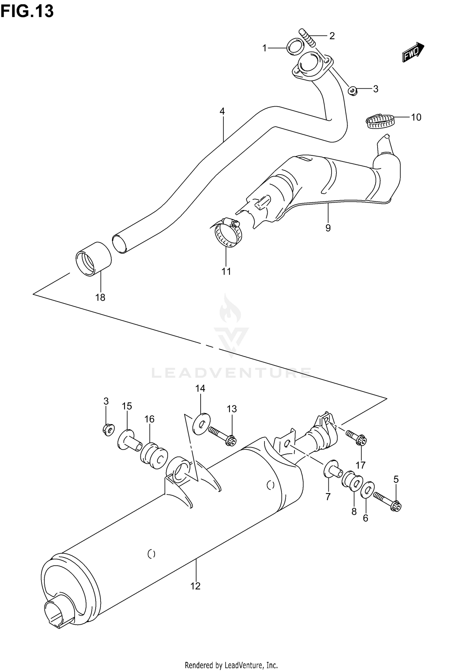
2003 Suzuki LT-F250 QUADRUNNER 2X4 MUFFLER

Set this as my ride
MUFFLER

WARNING Cancer and Reproductive Harm www.P65Warnings.ca.gov.

All 2003 Suzuki LT-F250 QUADRUNNER 2X4 Part Groups
Added to your cart
CLOSE