Acerbis Plastic Kits Starting At $119.99 Shop Now
CLOSE
Shipping to US Flag United States
Free shipping over $79
Fast Cash Week Ends Tomorrow | Earn $10 When you Spend $99 + $25 When You Spend $199 Shop Now

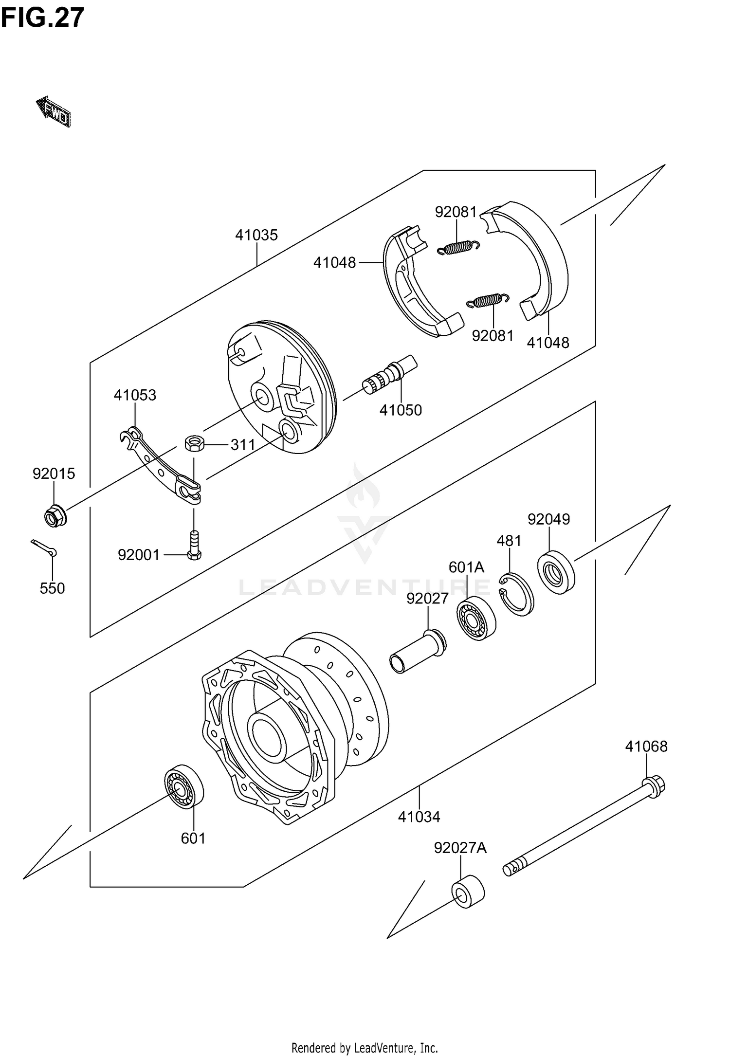
2003 Suzuki DRZ110 FRONT HUB

Set this as my ride
FRONT HUB

WARNING Cancer and Reproductive Harm www.P65Warnings.ca.gov.

  • # Part Retail Our Price
    Stock Status Suggested Quantity
  • 41034
    K4103-41343 drum-assy,front brake Retail: $161.21 Price: $137.03
    Expected to Ship in 4-9 Days
  • 41035
    K4103-51543 panel-assy-brake,fr Retail: $123.87 Price: $105.29
    Expected to Ship in 4-9 Days
  • 41048
    K4104-81083 shoe-brake Retail: $24.94 Price: $23.44
    Expected to Ship in 4-9 Days
  • 41050
    K4105-01031 cam-brake
    This part is currently unavailable.
  • 41053
    K4105-31027 lever-brake cam,fr
    This part is currently unavailable.
  • 41068
    K4106-80015 axle,fr Supersedes: K4106-81305 (AXLE,FR)
    This part is currently unavailable.
  • 92001
    K9200-11695 bolt,5x25
    This part is currently unavailable.
  • 92015
    K9221-00276 nut,lock,flange Supersedes: K9201-51335 (NUT,LOCK,FLANGE) Price: $2.22
    Expected to Ship in 4-9 Days
  • 92027
    K9202-71470 collar,front drum,l=54
    This part is currently unavailable.
  • 92027A
    K9202-71472 collar,front axle,l=14.5
    This part is currently unavailable.
  • 92049
    K9204-91095 seal-oil,dd20357 Retail: $12.28 Price: $11.54
    Expected to Ship in 4-9 Days
  • 92081
    K9208-11564 spring,brake shoe
    This part is currently unavailable.
  • 311
    K311B-A0500 nut-hex Supersedes: KK311-H0500 (NUT-HEX) Price: $1.75
    Expected to Ship in 4-9 Days
  • 481
    Expected to Ship in 4-9 Days
  • 550
    KK550-S2520 pin-cotter,2.5x20
    This part is currently unavailable.
  • 601
    Expected to Ship in 4-9 Days
  • 601A
    KKK60-1B630-0UU bearing-ball,#6300uuc3 Retail: $13.30 Price: $12.50
    Expected to Ship in 4-9 Days
Added to your cart
CLOSE