Kickstart your Riding Season with Bike Prep and Riding Gear Shop Now
CLOSE
Shipping to US Flag United States
Free shipping over $79
My Ride: 2012 Triumph Scrambler
Bargain Bin Blowout! | Save 40-90% Off! Shop Now

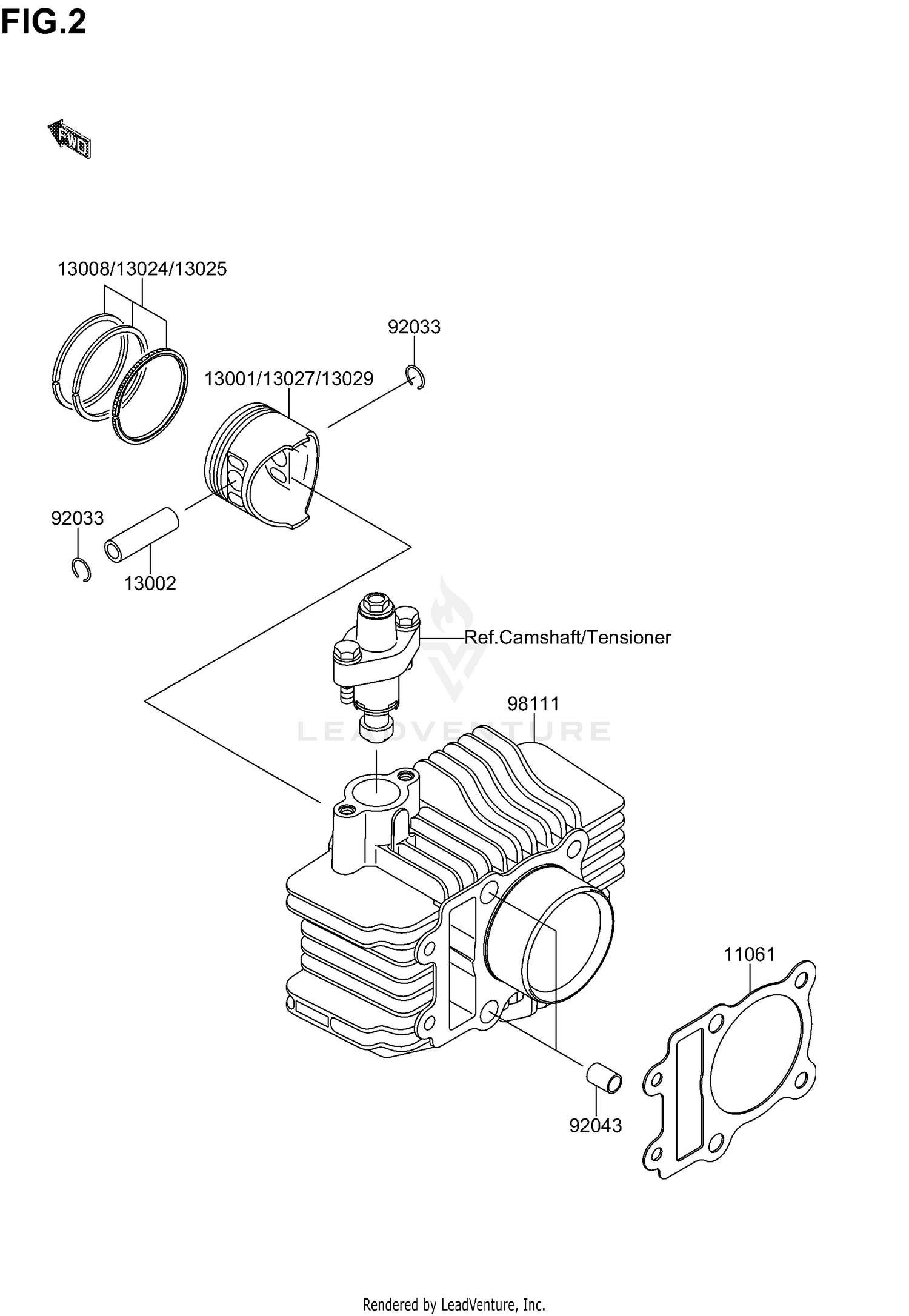
2003 Suzuki DRZ110 CYLINDER/PISTON

Set this as my ride
CYLINDER/PISTON

WARNING Cancer and Reproductive Harm www.P65Warnings.ca.gov.

Added to your cart
CLOSE