BOGOS | Buy One Get One Deals Shop Now
CLOSE
Shipping to US Flag United States
Free shipping over $79
My Ride: 2003 Honda Shadow Spirit 750 - VT750DC
Fast Cash Week | Earn $25 Fast Cash When You Spend $199 Learn More

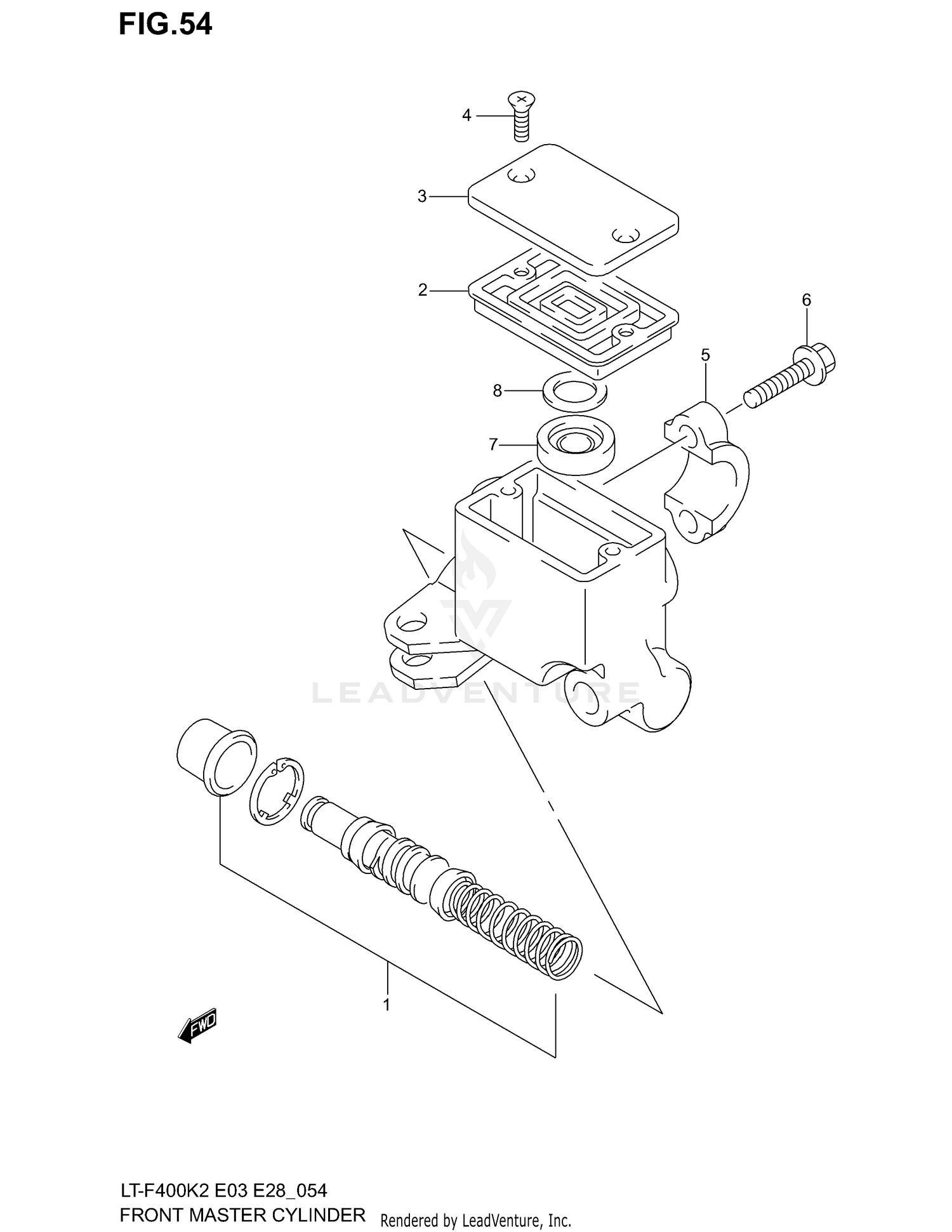
2002 Suzuki EIGER 400 2X4 SEMI-AUTO FRONT MASTER CYLINDER

Set this as my ride
FRONT MASTER CYLINDER

WARNING Cancer and Reproductive Harm www.P65Warnings.ca.gov.

Added to your cart
CLOSE