Kickstart your Riding Season with Bike Prep and Riding Gear Shop Now
CLOSE
Shipping to US Flag United States
Free shipping over $79
Moto Madness Sale | Get Up To 65% Off Parts & Gear Shop Now

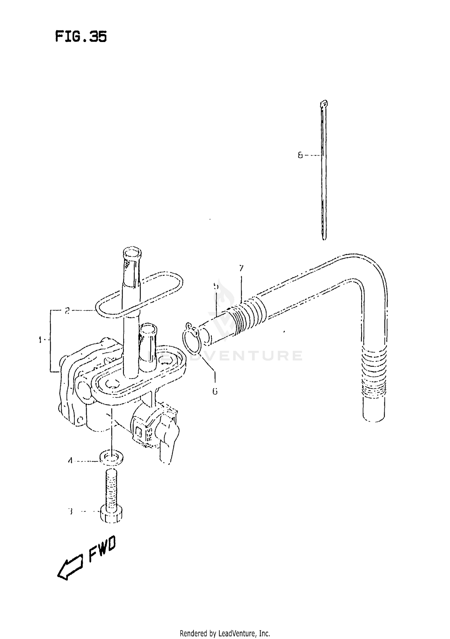
1999 Suzuki DR350S FUEL COCK

Set this as my ride
FUEL COCK

WARNING Cancer and Reproductive Harm www.P65Warnings.ca.gov.

  • # Part Retail Our Price
    Stock Status Suggested Quantity
  • 1
    44300-15D32 cock assy,fuel MODEL V/W Supersedes: 44300-15D30 (COCK ASSY, FUEL)
    This part is currently unavailable.
  • 1
    44300-15D32 cock assy,fuel MODEL X; Includes Item(s) 2 Supersedes: 44300-15D31 (COCK ASSY, FUEL)
    This part is currently unavailable.
  • 2
    44348-87421 .gasket joint Supersedes: 44348-87420 (GASKET,JOINT) Price: $7.60
    In Stock
  • 3
    09128-06057 bolt Supersedes: 09128-06006 (BOLT) Price: $2.29
    In Stock
  • 4
    In Stock
  • 5
    09352-70104-600 hose(7x10.2x600 MODEL V Supersedes: 09352-70103-600 (HOSE, FUEL (L:600->190)) Price: $7.88
    Expected to Ship in 4-9 Days
  • 5
    44421-12FR0 hose,6.5x11.5x6 MODEL W/X Supersedes: 09354-70123-600 (HOSE,6.5X11.5X6) Retail: $15.23 Price: $14.32
    In Stock
  • 6
    09401-10401 clip MODEL V Supersedes: 09401-10410 (CLIP) Price: $2.01
    In Stock
  • 6
    09401-11415 clip MODEL W/X Supersedes: 09401-12406 (CLIP) Price: $3.13
    In Stock
  • 7
    09440-13052 spring MODEL V Price: $7.90
    Expected to Ship in 4-9 Days
  • 7
    09440-14048-XC0 spring MODEL W/X Supersedes: 09440-14048 (SPRING | MODEL W/X) Price: $8.44
    Expected to Ship in 4-9 Days
  • 8
    09404-06429 clamp MODEL V/W
    This part is currently unavailable.
  • 8
    09404-06039 clamp MODEL X Supersedes: 09404-06432 (CLAMP) Price: $2.40
    In Stock
Added to your cart
CLOSE