Tire Rebates! Get Up To $70 Back Shop Now
CLOSE
Shipping to US Flag United States
Free shipping over $79
My Ride: 2017 Can-Am OUTLANDER MAX 570
Moto Madness Sale | Get Up To 65% Off Parts & Gear Shop Now

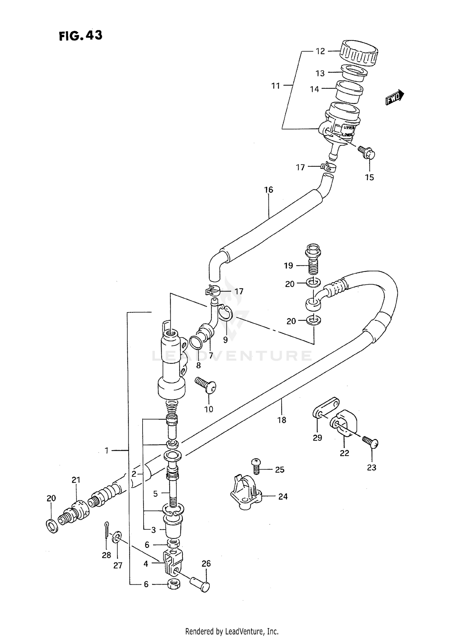
1994 Suzuki RMX250T REAR MASTER CYLINDER (MODEL K)

Set this as my ride
REAR MASTER CYLINDER (MODEL K)

WARNING Cancer and Reproductive Harm www.P65Warnings.ca.gov.

All 1994 Suzuki RMX250T Part Groups
Added to your cart
CLOSE