Kickstart your Riding Season with Bike Prep and Riding Gear Shop Now
CLOSE
Shipping to US Flag United States
Free shipping over $79
Moto Madness Sale | Get Up To 65% Off Parts & Gear Shop Now

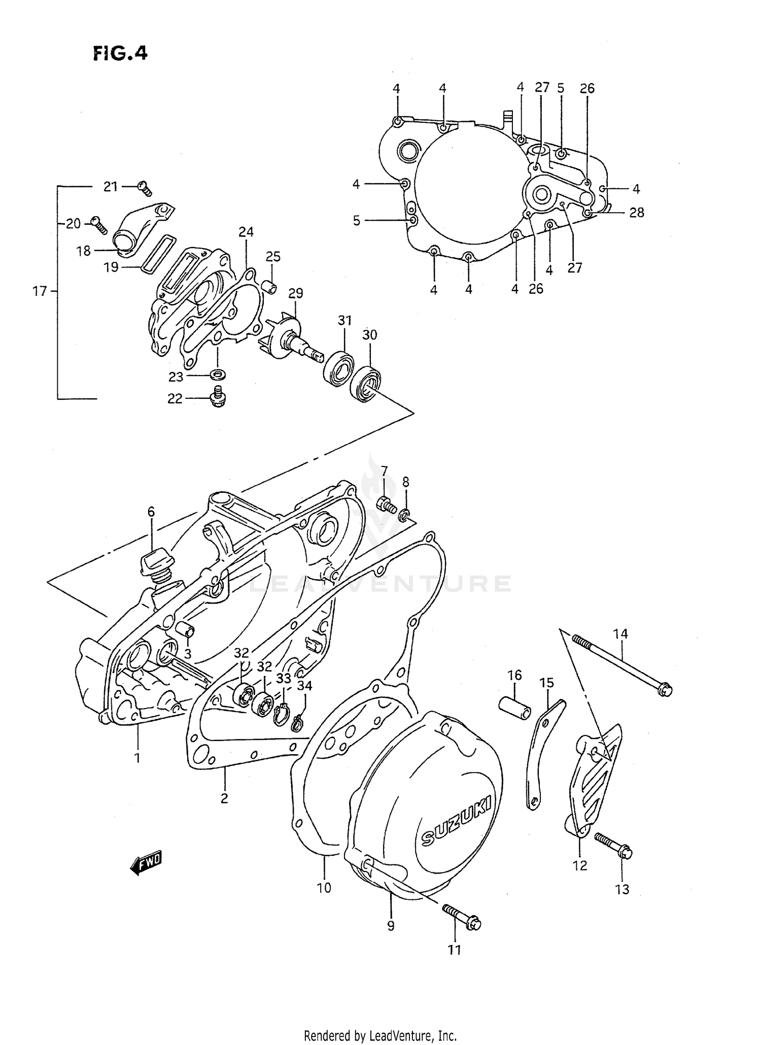
1994 Suzuki RMX250T CRANKCASE COVER (MODEL K)

Set this as my ride
CRANKCASE COVER (MODEL K)

WARNING Cancer and Reproductive Harm www.P65Warnings.ca.gov.

  • # Part Retail Our Price
    Stock Status Suggested Quantity
  • 1
    11341-28C00 cover, clutch
    This part is currently unavailable.
  • 2
    11482-28C01 gasket, clutch cover Retail: $21.16 Price: $19.89
    Expected to Ship in 4-9 Days
  • 3
    04211-09129 pin Price: $2.29
    In Stock
  • 4
    01547-06257 bolt Price: $2.82
    In Stock
  • 5
    01547-06357 bolt Price: $2.82
    Expected to Ship in 4-9 Days
  • 6
    09200-20811 plug set Supersedes: 09200-20810 (PLUG, OIL FILLER) Price: $5.64
    In Stock
  • 7
    09128-06044 screw (6x10) Supersedes: 09128-06004 (SCREW (6X10)) Price: $1.93
    In Stock
  • 8
    In Stock
  • 9
    11351-05D02 no description available Supersedes: 11351-05D00 (COVER, MAGNETO)
    This part is currently unavailable.
  • 10
    11483-28C01 gasket, magneto cover Supersedes: 11483-28C00 (GASKET, MAGNETO COVER)
    This part is currently unavailable.
  • 11
    01547-06257 bolt Price: $2.82
    In Stock
  • 12
    11360-28E00 cover, engine sprocket Supersedes: 11360-27C00 (COVER, SPROCKET) Retail: $40.66 Price: $38.22
    In Stock
  • 13
    01547-06257 bolt Price: $2.82
    In Stock
  • 14
    01547-06957 bolt Supersedes: 01547-06958 (BOLT) Price: $4.88
    Expected to Ship in 4-9 Days
  • 15
    27641-28C10 plate, chain guide
    This part is currently unavailable.
  • 15
    27641-28C20 plate, chain guide OPT,FOR NT:15 Retail: $13.11 Price: $12.32
    Expected to Ship in 4-9 Days
  • 16
    In Stock
  • 17
    17410-28C01 case, water pump Includes Item(s) 18 - 23 Retail: $160.30 Price: $136.26
    Expected to Ship in 4-9 Days
  • 18
    17412-28C00 connector
    This part is currently unavailable.
  • 19
    17415-01C00 o ring
    This part is currently unavailable.
  • 20
    02112-06167 screw Price: $1.99
    In Stock
  • 21
    02112-06107 screw Supersedes: 02112-06108 (SCREW) Price: $2.01
    Expected to Ship in 4-9 Days
  • 22
    17415-43D00 bolt, drain Supersedes: 17415-00B00 (BOLT, DRAIN) Price: $5.89
    In Stock
  • 23
    17413-28C10 gasket Supersedes: 17413-00B00 (GASKET) Price: $2.76
    In Stock
  • 24
    17431-28C00 gasket, water pump case
    This part is currently unavailable.
  • 25
    04211-09129 pin Price: $2.29
    In Stock
  • 26
    01547-06207 bolt Supersedes: 09103-06235 (BOLT) Price: $2.82
    In Stock
  • 27
    01547-06307 bolt Price: $2.85
    In Stock
  • 28
    01547-06857 bolt Price: $3.99
    Expected to Ship in 4-9 Days
  • 29
    17491-28C00 inpeller, water pump
    This part is currently unavailable.
  • 30
    09282-12006 oil seal, inner (12x24x3.6)
    This part is currently unavailable.
  • 31
    09289-12004 oil seal, outer (12x24x6.4)
    This part is currently unavailable.
  • 32
    08113-06980 bearing (8x19x6) Retail: $15.43 Price: $14.50
    In Stock
  • 33
    In Stock
  • 34
    08331-31089 circlip Supersedes: 08331-3108A (CIRCLIP) Price: $2.47
    In Stock
  • 35
    SPECIAL NOTE refer to fig.4a (b-13) for
    This part is currently unavailable.
All 1994 Suzuki RMX250T Part Groups
Added to your cart
CLOSE