Get Out and Ride | Dialed Gear. Tuned Parts. Dirt Ready. Shop Now
CLOSE
Shipping to US Flag United States
Free shipping over $79
BOGOS | Buy One Get One Deals Shop Now

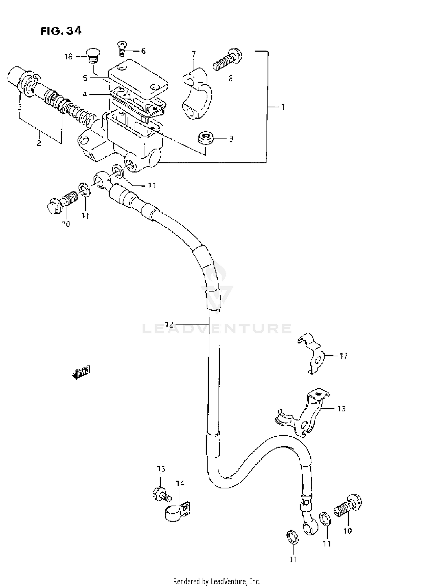
1993 Suzuki RMX250 FRONT MASTER CYLINDER

Set this as my ride
FRONT MASTER CYLINDER

WARNING Cancer and Reproductive Harm www.P65Warnings.ca.gov.

  • # Part Retail Our Price
    Stock Status Suggested Quantity
  • 1
    59600-05D01 cylinder assy, front master Supersedes: 59600-05D00 (CYLINDER ASSY, FRONT MASTER) Retail: $328.64 Price: $276.06
    Expected to Ship in 4-9 Days
  • 2
    59600-27820 piston & cup set Retail: $65.85 Price: $61.24
    Expected to Ship in 4-9 Days
  • 3
    59666-44300 boot Price: $8.23
    In Stock
  • 4
    59667-44B00 diaphragm Retail: $12.08 Price: $11.36
    Expected to Ship in 4-9 Days
  • 5
    59669-05D00 cap Supersedes: 59669-0BE00 (CAP) Retail: $21.30 Price: $20.02
    Expected to Ship in 4-9 Days
  • 6
    69689-49300 screw Price: $2.32
    In Stock
  • 7
    59671-27C00 holder Retail: $18.40 Price: $17.30
    Expected to Ship in 4-9 Days
  • 8
    59675-27C00 bolt Price: $5.19
    Expected to Ship in 4-9 Days
  • 9
    59748-14500 separator Retail: $12.82 Price: $12.05
    Expected to Ship in 4-9 Days
  • 10
    09360-10017 bolt MODEL K/L Price: $4.78
    In Stock
  • 10
    09360-10017 bolt, master cylinder MODEL M/N/P Price: $4.78
    In Stock
  • 10
    09360-10062 union MODEL M/N/P Supersedes: 09360-10033 (BOLT, CALIPER (10X1.25X22)) Price: $9.02
    In Stock
  • 10
    09360-10061 union (10x1.00x22) MODEL R Supersedes: 09360-10041 (UNION BOLT (10X22)) Price: $9.14
    In Stock
  • 10
    09360-10062 union MODEL R Supersedes: 09360-10033 (BOLT, CALIPER (10X1.25X22)) Price: $9.02
    In Stock
  • 11
    09161-10009 washer (10x15x1.5) Supersedes: 09161C10009J000 (WASHER (10X15X1.5)) Price: $2.55
    In Stock
  • 12
    59480-05D01 hose, front brake MODEL K/L
    This part is currently unavailable.
  • 12
    59480-05D11 hose, front brake MODEL M/N Supersedes: 59480-05D10 (HOSE, FRONT BRAKE)
    This part is currently unavailable.
  • 12
    59480-05D11 hose, front brake MODEL P/R
    This part is currently unavailable.
  • 13
    59270-05D00 clamp, brake hose MODEL K/L
    This part is currently unavailable.
  • 13
    59270-05D10 clamp, brake hose MODEL M
    This part is currently unavailable.
  • 14
    59247-28C01 clamp, brake hose
    This part is currently unavailable.
  • 15
    01570-06107 bolt MODEL K/L Supersedes: 01934-06108 (BOLT) Price: $3.61
    Expected to Ship in 4-9 Days
  • 15
    09103-06188 bolt (6x10) MODEL M/N/P/R Supersedes: 09103-06145 (BOLT) Retail: $3.52 Price: $1.77
    In Stock
  • 16
    09250-09008 cap Supersedes: 09250-09001 (CAP(OD:14)) Price: $2.17
    In Stock
  • 17
    59246-28C01 clamp, brake hose MODEL N/P/R
    This part is currently unavailable.
Added to your cart
CLOSE