Kickstart your Riding Season with Bike Prep and Riding Gear Shop Now
CLOSE
Shipping to US Flag United States
Free shipping over $79
Moto Madness Sale | Get Up To 65% Off Parts & Gear Shop Now

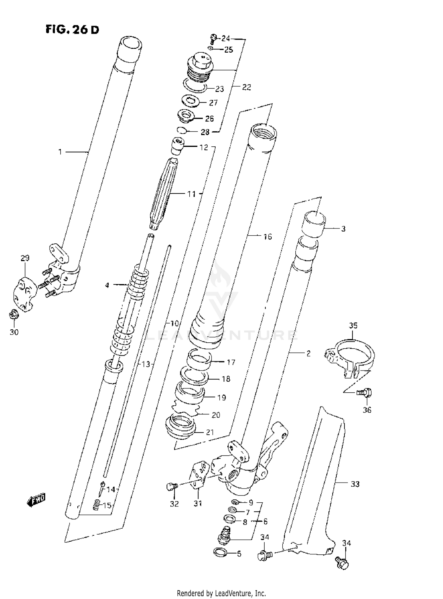
1993 Suzuki RMX250 FRONT DAMPER (P/R)

Set this as my ride
FRONT DAMPER (P/R)

WARNING Cancer and Reproductive Harm www.P65Warnings.ca.gov.

  • # Part Retail Our Price
    Stock Status Suggested Quantity
  • 1
    51103-29E80 damper assy, rh
    This part is currently unavailable.
  • 1
    51104-29E80 damper assy, lh
    This part is currently unavailable.
  • 1
    51110-28E00 tube, inner rh Retail: $357.59 Price: $300.38
    Expected to Ship in 4-9 Days
  • 2
    51120-28E00 tube, inner lh Retail: $463.66 Price: $389.47
    Expected to Ship in 4-9 Days
  • 3
    51121-27C40 bush, slide
    This part is currently unavailable.
  • 4
    51171-29E50 spring, main
    This part is currently unavailable.
  • 5
    51133-43D00 ring, center bolt stopper
    This part is currently unavailable.
  • 6
    51170-29E50 bolt assy, center Retail: $208.35 Price: $177.10
    Expected to Ship in 4-9 Days
  • 7
    Expected to Ship in 4-9 Days
  • 8
    51148-43D00 gasket
    This part is currently unavailable.
  • 9
    Expected to Ship in 4-9 Days
  • 10
    51190-29E20 damper, front Supersedes: 51190-29E50 (DAMPER, FRONT)
    This part is currently unavailable.
  • 11
    51172-28E00 guide, push rod spring
    This part is currently unavailable.
  • 12
    51129-43D00 nut, push Retail: $19.20 Price: $18.05
    Expected to Ship in 4-9 Days
  • 13
    51191-28E00 rod, push Retail: $73.42 Price: $68.28
    Expected to Ship in 4-9 Days
  • 14
    51192-05D80 needle Retail: $23.22 Price: $21.83
    Expected to Ship in 4-9 Days
  • 15
    Expected to Ship in 4-9 Days
  • 16
    51130-28E00 tube, outer
    This part is currently unavailable.
  • 17
    51167-28E00 bush, guide Retail: $35.62 Price: $33.48
    Expected to Ship in 4-9 Days
  • 18
    51158-27C40 spacer, seal Retail: $10.60 Price: $5.77
    In Stock
  • 19
    51153-28E30 seal, oil Supersedes: 51153-27C41 (SEAL, OIL) Retail: $34.96 Price: $32.86
    Expected to Ship in 4-9 Days
  • 20
    51156-27C40 ring, oil seal stopper Supersedes: 51156-36F00 (RING, STOPPER) Price: $7.59
    Expected to Ship in 4-9 Days
  • 21
    51173-28E40 seal, dust Supersedes: 51173-43D00 (SEAL, DUST) Retail: $39.21 Price: $36.86
    Expected to Ship in 4-9 Days
  • 22
    51351-28E00 bolt assy, fork
    This part is currently unavailable.
  • 23
    Expected to Ship in 4-9 Days
  • 24
    51357-27C40 bolt, plug Retail: $11.30 Price: $10.62
    Expected to Ship in 4-9 Days
  • 25
    Expected to Ship in 4-9 Days
  • 26
    51175-28E00 seat, spring
    This part is currently unavailable.
  • 27
    Expected to Ship in 4-9 Days
  • 28
    51133-28E00 ring, stopper
    This part is currently unavailable.
  • 29
    51132-27C40 holder, axle rh
    This part is currently unavailable.
  • 30
    08319-31067 nut Supersedes: 08319-31068 (NUT) Price: $2.82
    In Stock
  • 31
    59248-27C40 guide, hose lh
    This part is currently unavailable.
  • 32
    In Stock
  • 33
    51501-29E00 protector, rh MODEL P Supersedes: 51501-05D80 (PROTECTOR, FORK RH)
    This part is currently unavailable.
  • 33
    51501-29E00 protector, fork rh MODEL R
    This part is currently unavailable.
  • 33
    51511-29E00 protector, lh MODEL P Supersedes: 51511-43D00 (PROTECTOR, FORK LH)
    This part is currently unavailable.
  • 33
    51511-29E00 protector, fork lh MODEL R
    This part is currently unavailable.
  • 34
    Expected to Ship in 4-9 Days
  • 35
    51210-43D00 guide, fork protector
    This part is currently unavailable.
  • 36
    01547-06207 bolt Supersedes: 09103-06235 (BOLT) Price: $2.82
    In Stock
Added to your cart
CLOSE