Kickstart your Riding Season with Bike Prep and Riding Gear Shop Now
CLOSE
Shipping to US Flag United States
Free shipping over $79
Moto Madness Sale | Get Up To 65% Off Parts & Gear Shop Now

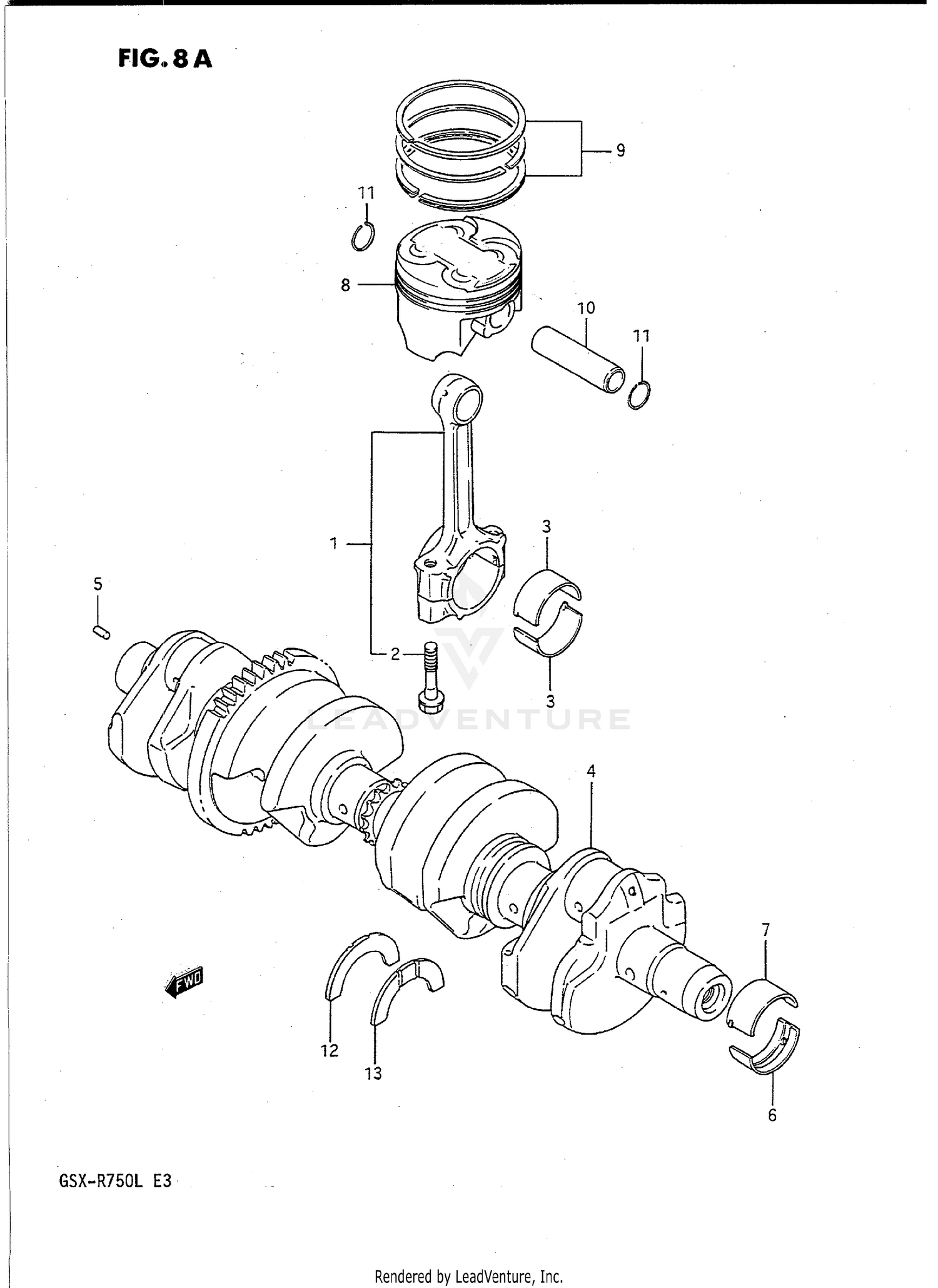
1990 Suzuki GSXR750L CRANKSHAFT (MODEL L)

Set this as my ride
CRANKSHAFT (MODEL L)

WARNING Cancer and Reproductive Harm www.P65Warnings.ca.gov.

All 1990 Suzuki GSXR750L Part Groups
Added to your cart
CLOSE