Renthal Deal! Up To 10% Off Shop Now
CLOSE
Shipping to US Flag United States
Free shipping over $79
Moto Madness Sale | Get Up To 65% Off Parts & Gear Shop Now

1985 Suzuki GS450GA MUFFLER

Set this as my ride
MUFFLER

WARNING Cancer and Reproductive Harm www.P65Warnings.ca.gov.

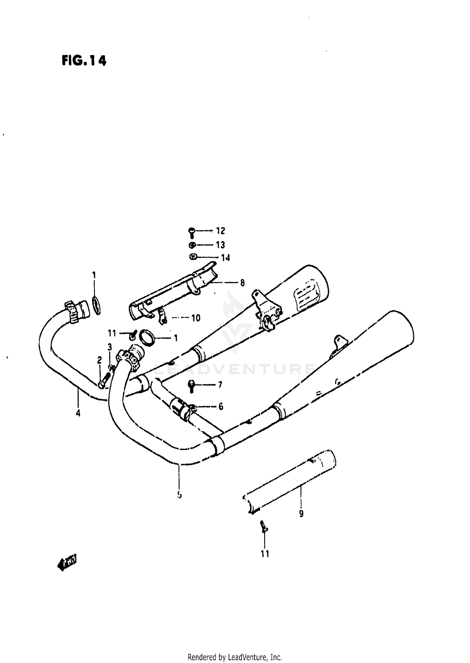
  • # Part Retail Our Price
    Stock Status Suggested Quantity
  • 1
    14181-01D00 gasket, exhaust pipe Supersedes: 14181-11020 (GASKET) Price: $10.10
    Expected to Ship in 4-9 Days
  • 2
    01500-0840A bolt Supersedes: 01107-08408 (BOLT) Price: $3.66
    Expected to Ship in 4-9 Days
  • 3
    08321-01087 .lock washer Supersedes: 08321-21088 (LOCK WASHER) Price: $2.55
    In Stock
  • 4
    14301-44510-H01 muffler, rh
    This part is currently unavailable.
  • 5
    14302-44510-H01 muffler, lh
    This part is currently unavailable.
  • 6
    09402-35601 clamp Price: $7.34
    Expected to Ship in 4-9 Days
  • 7
    01550-06257 bolt Supersedes: 01517-06257 (BOLT) Price: $3.21
    Expected to Ship in 4-9 Days
  • 8
    14780-44500 cover, muffler rh
    This part is currently unavailable.
  • 9
    14790-44500 cover, muffler lh
    This part is currently unavailable.
  • 10
    14785-44100 clamp
    This part is currently unavailable.
  • 11
    02112-05167 screw Supersedes: 02112-05168 (SCREW) Price: $2.73
    In Stock
  • 12
    02112-05087 screw Supersedes: 13613-33E10 (SCREW) Price: $2.01
    Expected to Ship in 4-9 Days
  • 13
    08321-0105A lock washer Supersedes: 08321-01053 (LOCK WASHER) Price: $2.55
    Expected to Ship in 4-9 Days
  • 14
    08322-01057 washer Supersedes: 08322-21058 (WASHER) Retail: $2.59 Price: $0.77
    In Stock
Added to your cart
CLOSE