Get Out and Ride | Dialed Gear. Tuned Parts. Dirt Ready. Shop Now
CLOSE
Shipping to US Flag United States
Free shipping over $79
BOGOS | Buy One Get One Deals Shop Now

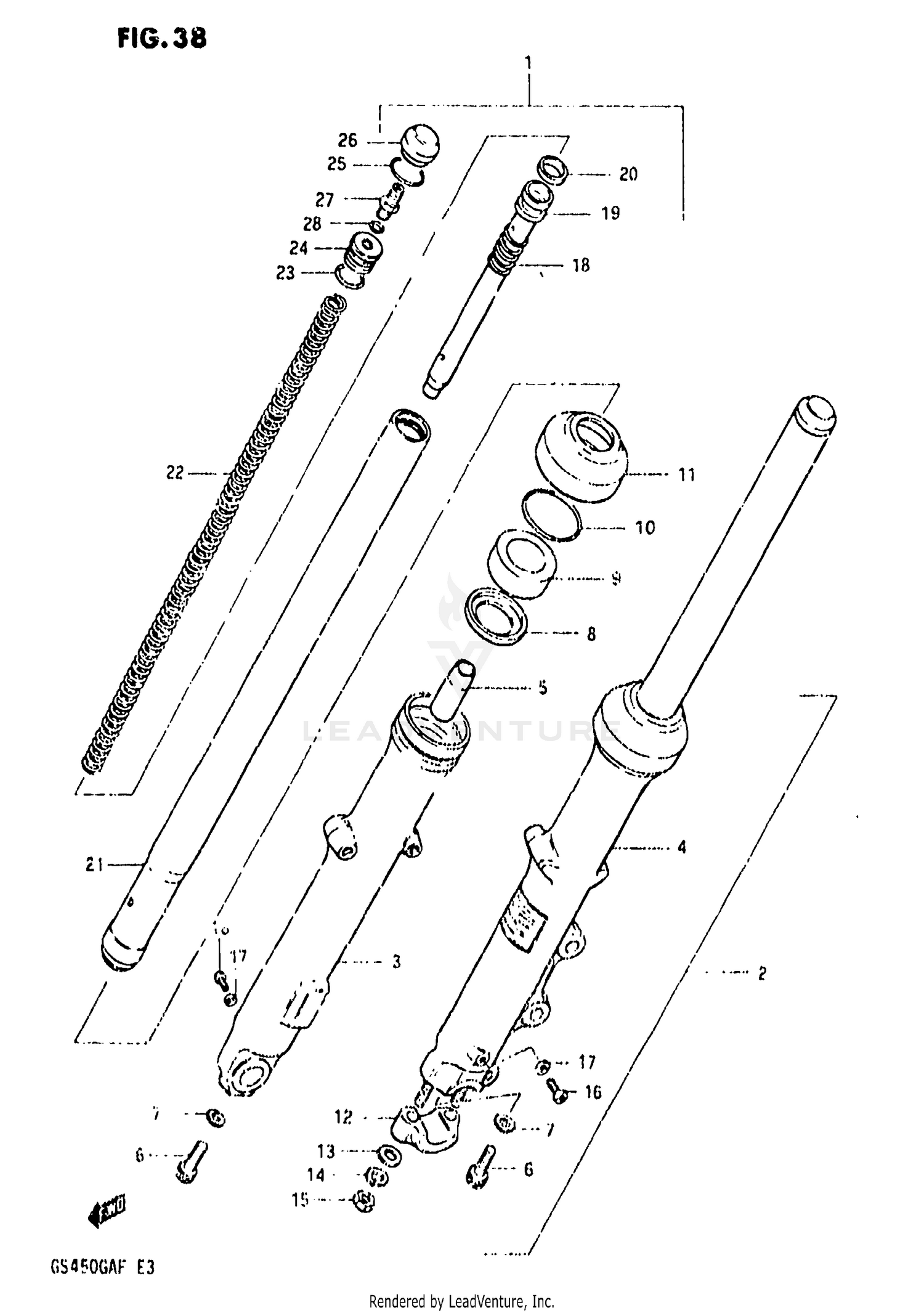
1985 Suzuki GS450GA FRONT FORK

Set this as my ride
FRONT FORK

WARNING Cancer and Reproductive Harm www.P65Warnings.ca.gov.

  • # Part Retail Our Price
    Stock Status Suggested Quantity
  • 1
    51103-44500 damper assy,rh
    This part is currently unavailable.
  • 2
    51104-44500 damper assy, lh Includes Item(s) 3 - 11
    This part is currently unavailable.
  • 3
    51130-44500 outer tube,rh
    This part is currently unavailable.
  • 4
    51130-44500 outer tube,lh
    This part is currently unavailable.
  • 5
    51195-48000 .piece, oil lock
    This part is currently unavailable.
  • 6
    51147-48130 bolt Price: $6.16
    Expected to Ship in 4-9 Days
  • 7
    51148-36011 .gasket Supersedes: 51148-31030 (GASKET) Price: $5.06
    In Stock
  • 8
    Expected to Ship in 4-9 Days
  • 9
    51153-02B00 oil seal Supersedes: 51153-37310 (OIL SEAL) Retail: $25.49 Price: $23.96
    Expected to Ship in 4-9 Days
  • 10
    51153-02B00 oil seal Supersedes: 51153-37310 (RING STOPPER) Retail: $25.49 Price: $23.96
    Expected to Ship in 4-9 Days
  • 11
    51571-37310 dust seal Retail: $25.61 Price: $24.07
    Expected to Ship in 4-9 Days
  • 12
    51132-31030 holder,axle Includes Item(s) 13 - 20 Retail: $34.09 Price: $32.04
    Expected to Ship in 4-9 Days
  • 13
    08322-01087 washer Supersedes: 08322-21088 (WASHER) Price: $2.59
    In Stock
  • 14
    08321-01087 .washer Supersedes: 08321-21088 (SPRING WASHER) Price: $2.55
    In Stock
  • 15
    09140-08008 nut Price: $2.01
    In Stock
  • 16
    02112-0406B screw Supersedes: 02112-04063 (SCREW) Price: $2.16
    In Stock
  • 17
    51183-33030 gasket
    This part is currently unavailable.
  • 18
    Expected to Ship in 4-9 Days
  • 19
    51146-44500 cylinder
    This part is currently unavailable.
  • 20
    51196-33130 ring,piston Retail: $10.10 Price: $0.77
    In Stock
  • 21
    51110-44500 inner tube Includes Item(s) 22 - 28
    This part is currently unavailable.
  • 22
    51171-44500 spring
    This part is currently unavailable.
  • 23
    Expected to Ship in 4-9 Days
  • 24
    Expected to Ship in 4-9 Days
  • 25
    Expected to Ship in 4-9 Days
  • 26
    51189-44170 cap
    This part is currently unavailable.
  • 27
    51293-45440 valve,air
    This part is currently unavailable.
  • 28
    09280-06005 .o ring (d:1.9,id:5.7) Supersedes: 51117-45400 (O RING) Price: $2.01
    Expected to Ship in 4-9 Days
Added to your cart
CLOSE