Kickstart your Riding Season with Bike Prep and Riding Gear Shop Now
CLOSE
Shipping to US Flag United States
Free shipping over $79
Moto Madness Sale | Get Up To 65% Off Parts & Gear Shop Now

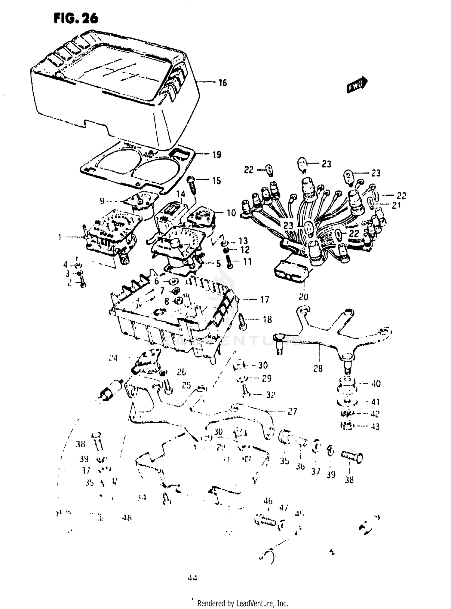
1985 Suzuki GS1150EF2 SPEEDOMETER - TACHOMETER

Set this as my ride
SPEEDOMETER - TACHOMETER

WARNING Cancer and Reproductive Harm www.P65Warnings.ca.gov.

All 1985 Suzuki GS1150EF2 Part Groups
Added to your cart
CLOSE