BOGOS | Buy One Get One Deals Shop Now
CLOSE
Shipping to US Flag United States
Free shipping over $79
My Ride: 2016 Harley Davidson Dyna Street Bob - FXDB
Fast Cash Week | Earn $25 Fast Cash When You Spend $199 Learn More

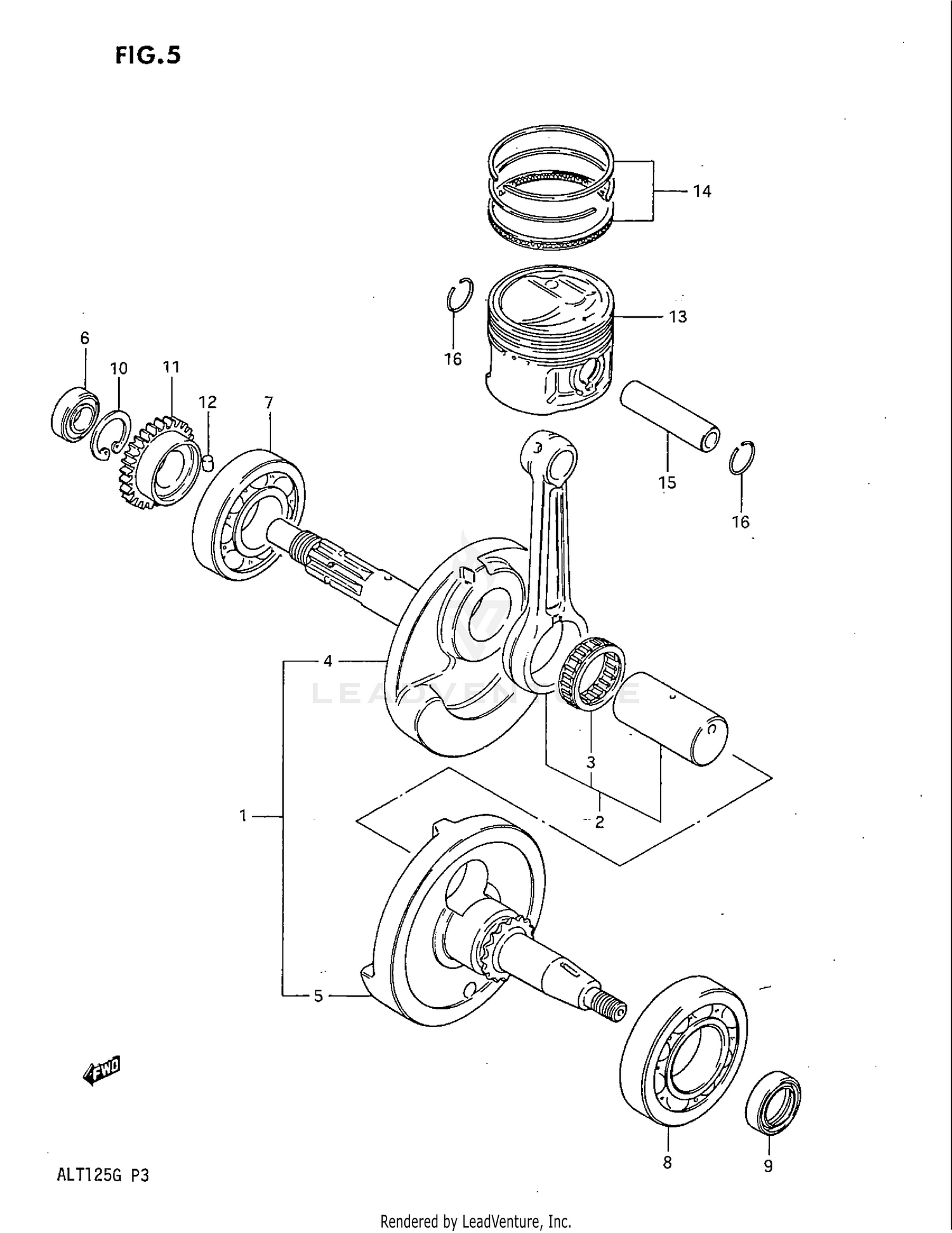
1985 Suzuki ALT125 CRANKSHAFT

Set this as my ride
CRANKSHAFT

WARNING Cancer and Reproductive Harm www.P65Warnings.ca.gov.

  • # Part Retail Our Price
    Stock Status Suggested Quantity
  • 1
    12200-18905 crankshaft assy Includes Item(s) 2 - 5 Retail: $275.66 Price: $234.31
    Expected to Ship in 4-9 Days
  • 2
    12105-05821 rod set, connecting Supersedes: 12200-05851 (ROD SET, CONNECTING) Retail: $188.32 Price: $160.07
    Expected to Ship in 4-9 Days
  • 3
    09263-28027-0B0 bearing (28x36x15.8) Supersedes: 09263-28022-0B0 (BEARING) Retail: $41.10 Price: $38.63
    Expected to Ship in 4-9 Days
  • 4
    12221-18903 crankshaft, rh Retail: $132.78 Price: $112.86
    Expected to Ship in 4-9 Days
  • 5
    12261-18901 crankshaft, lh Retail: $127.14 Price: $108.07
    Expected to Ship in 4-9 Days
  • 6
    09262-12004 bearing, rh Retail: $30.73 Price: $28.89
    Expected to Ship in 4-9 Days
  • 7
    09262-28014 bearing (28x68x18) Supersedes: 09262-28003 (BEARING, M) Retail: $71.59 Price: $66.58
    Expected to Ship in 4-9 Days
  • 8
    09262-35038 bearing (35x72x17) Supersedes: 09262-35039 (BEARING (35X72X17)) Retail: $56.94 Price: $52.95
    Expected to Ship in 4-9 Days
  • 9
    Expected to Ship in 4-9 Days
  • 10
    08331-41289 circlip Supersedes: 08331-4128A (CIRCLIP) Price: $3.25
    Expected to Ship in 4-9 Days
  • 11
    16321-18902 gear, oil pump drive (nt:30) Supersedes: 16321-18901 (GEAR, OIL PUMP DRIVE)
    This part is currently unavailable.
  • 12
    04221-03059 pin Supersedes: 06211-03052 (PIN) Retail: $2.08 Price: $0.77
    In Stock
  • 13
    12111-01420 piston
    This part is currently unavailable.
  • 13
    12103-01870-050 piston set,os 0 OPT Supersedes: 12111-01420-050 (PISTON (OS:0.5))
    This part is currently unavailable.
  • 13
    12103-01870-100 no description available OPT Supersedes: 12111-01420-100 (PISTON (OS:1.0))
    This part is currently unavailable.
  • 14
    12140-01410 ring set, piston Supersedes: 12140-05211 (RING SET, PISTON) Retail: $45.85 Price: $43.10
    Expected to Ship in 4-9 Days
  • 14
    12140-01410-050 ring set, piston (os:0.5) OPT Supersedes: 12140-05211-050 (RING SET, PISTON (OS:0.5)) Retail: $47.65 Price: $44.79
    Expected to Ship in 4-9 Days
  • 14
    12140-01410-100 ring set, piston (os:1.0) OPT Supersedes: 12140-05211-100 (RING SET, PISTON (OS:1.0)) Retail: $31.46 Price: $29.57
    Expected to Ship in 4-9 Days
  • 15
    12151-18902 pin Retail: $14.77 Price: $13.88
    Expected to Ship in 4-9 Days
  • 16
    In Stock
Added to your cart
CLOSE