Kickstart your Riding Season with Bike Prep and Riding Gear Shop Now
CLOSE
Shipping to US Flag United States
Free shipping over $79
Moto Madness Sale | Get Up To 65% Off Parts & Gear Shop Now

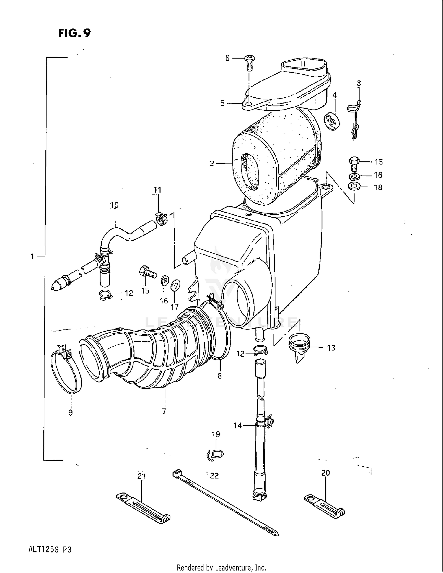
1985 Suzuki ALT125 AIR CLEANER

Set this as my ride
AIR CLEANER

WARNING Cancer and Reproductive Harm www.P65Warnings.ca.gov.

  • # Part Retail Our Price
    Stock Status Suggested Quantity
  • 1
    13700-18923 cleaner assy, air Includes Item(s) 2 - 14 Supersedes: 13700-18913 (CLEANER ASSY, AIR)
    This part is currently unavailable.
  • 2
    13780-18920 filter Supersedes: 13781-18912 (FILTER)
    This part is currently unavailable.
  • 3
    In Stock
  • 4
    In Stock
  • 5
    13740-18920 cap Supersedes: 13740-18911 (CAP)
    This part is currently unavailable.
  • 6
    02142-06167 screw Price: $1.90
    In Stock
  • 7
    13881-18900 hose, outlet
    This part is currently unavailable.
  • 8
    13826-18912 clamp
    This part is currently unavailable.
  • 9
    09402-48208 clamp Supersedes: 09402-48207 (CLAMP) Price: $6.51
    In Stock
  • 10
    13850-18911 no description available Supersedes: 13850-18910 (HOSE, BREATHER)
    This part is currently unavailable.
  • 11
    09401-13417 clamp Supersedes: 09401-13413 (CLIP, UPPER) Price: $3.13
    In Stock
  • 12
    09401-14301 clip Price: $2.82
    In Stock
  • 13
    13873-18900 hose, drain (1)
    This part is currently unavailable.
  • 14
    13870-18910 no description available Supersedes: 13870-00220 (HOSE, DRAIN (2))
    This part is currently unavailable.
  • 15
    01500-06167 bolt, canister Supersedes: 01107-06168 (BOLT) Price: $2.73
    In Stock
  • 16
    08321-01067 lock washer Supersedes: 08321-21067 (LOCK WASHER) Price: $2.55
    In Stock
  • 17
    09160-06084 washer Supersedes: 09160-06006 (WASHER (6.5X18X1.6)) Price: $2.47
    In Stock
  • 18
    08322-01067 washer Supersedes: 08322-21067 (WASHER) Price: $2.59
    In Stock
  • 19
    Expected to Ship in 4-9 Days
  • 20
    09404-06039 clamp Supersedes: 09404-06402 (CLAMP, CARBURETOR OVER FLOW) Price: $2.40
    In Stock
  • 21
    09404-06036 clamp(l:80) Supersedes: 09404-06434 (CLAMP(L:80)) Price: $2.44
    In Stock
  • 22
    09407-25402 clamp, breather tube Supersedes: 09407-20405 (CLAMP) Price: $6.51
    Expected to Ship in 4-9 Days
Added to your cart
CLOSE