BOGOS | Buy One Get One Deals Shop Now
CLOSE
Shipping to US Flag United States
Free shipping over $79
My Ride: 1988 Suzuki LT80
Fast Cash Week | Earn $25 Fast Cash When You Spend $199 Learn More

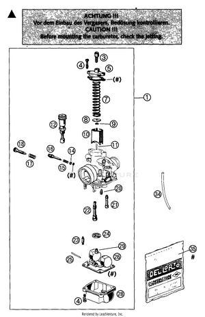
2003 KTM 50SX PRO SENIOR LC OEM Parts

Set this as my ride