Kickstart your Riding Season with Bike Prep and Riding Gear Shop Now
CLOSE
Shipping to US Flag United States
Free shipping over $79
Moto Madness Sale | Get Up To 65% Off Parts & Gear Shop Now

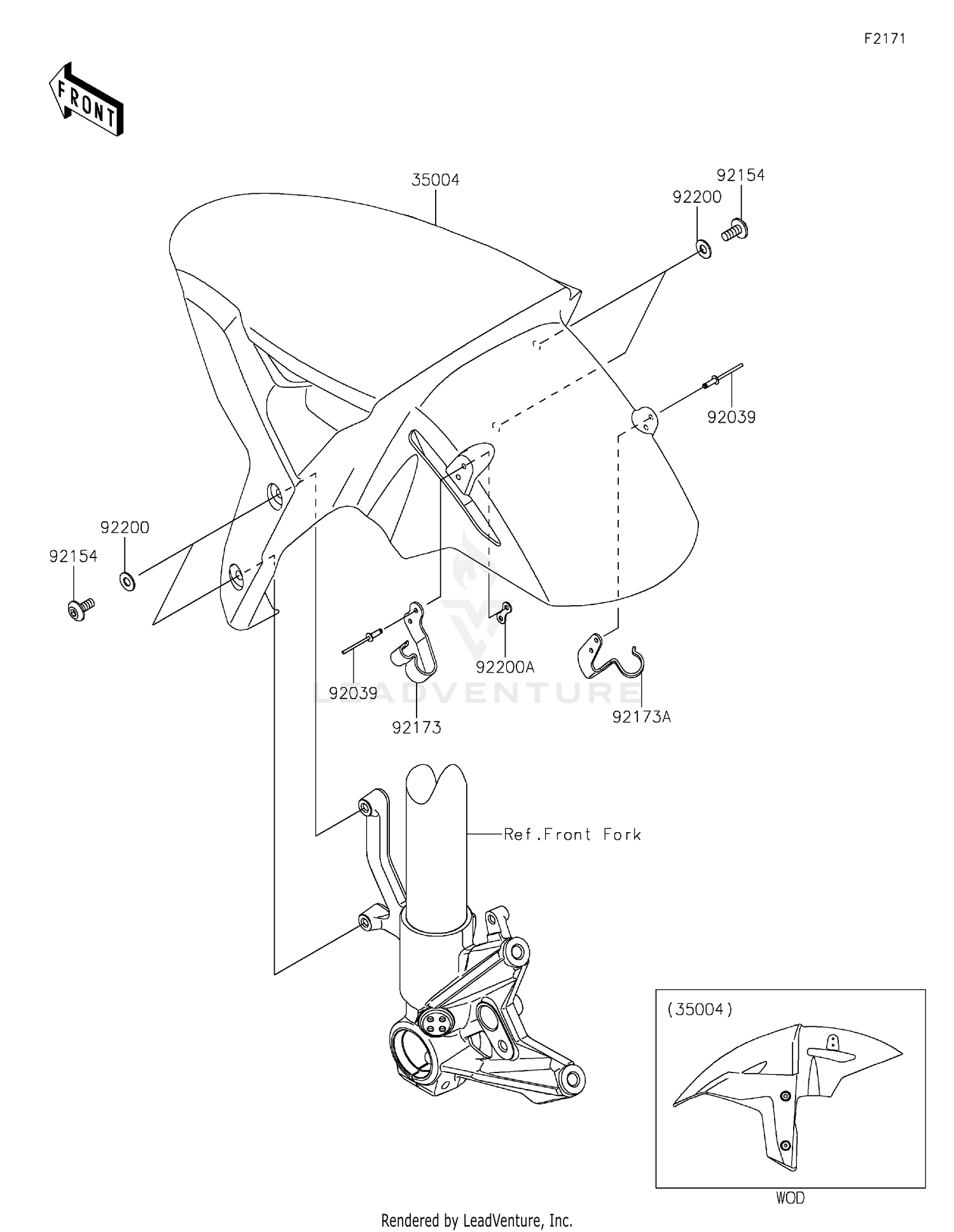
2023 Kawasaki NINJA H2 SX SE Front Fender(s)

Set this as my ride
Front Fender(s)

WARNING Cancer and Reproductive Harm www.P65Warnings.ca.gov.

All 2023 Kawasaki NINJA H2 SX SE Part Groups
Added to your cart
CLOSE