Kickstart your Riding Season with Bike Prep and Riding Gear Shop Now
CLOSE
Shipping to US Flag United States
Free shipping over $79
My Ride: 2012 Triumph Scrambler
Moto Madness Sale | Get Up To 65% Off Parts & Gear Shop Now

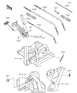
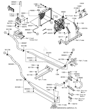
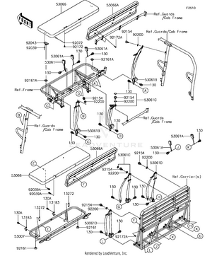
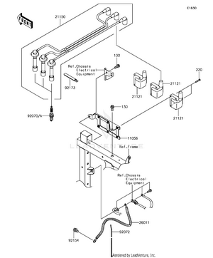
2017 Kawasaki MULE PRO-FXT RANCH EDITION (KAF820JHF) OEM Parts

Set this as my ride