LUCKY YOU! Extra 10% Off Clearance | Use Code POTOGOLD10 Limited Time! Ends 3/21 Shop Now
CLOSE
Shipping to US Flag United States
Free shipping over $79
My Ride: 2014 Can-Am OUTLANDER MAX 400 XT
Moto Madness Sale | Get Up To 65% Off Parts & Gear Shop Now

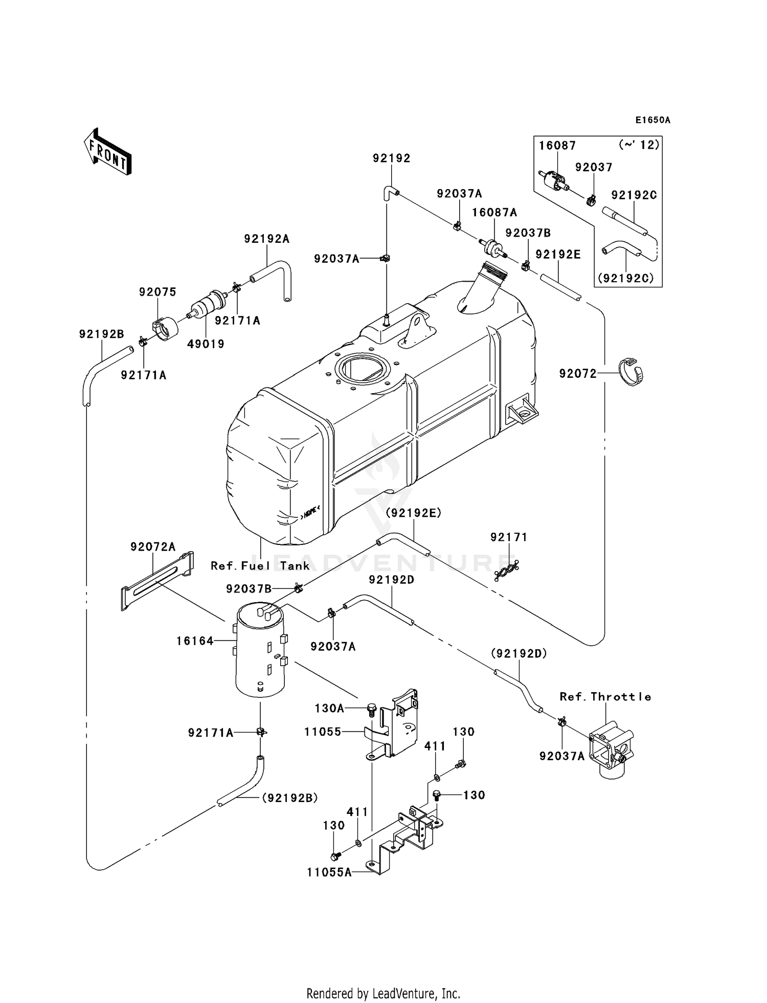
2012 Kawasaki MULE 4000 (KAF620PCF) FUEL EVAPORATIVE SYSTEM (PBF-PDF)

Set this as my ride
FUEL EVAPORATIVE SYSTEM (PBF-PDF)

WARNING Cancer and Reproductive Harm www.P65Warnings.ca.gov.

Added to your cart
CLOSE