Tire Rebates! Get Up To $70 Back Shop Now
CLOSE
Shipping to US Flag United States
Free shipping over $79
Moto Madness Sale | Get Up To 65% Off Parts & Gear Shop Now

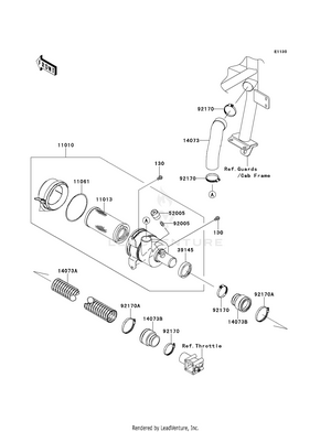
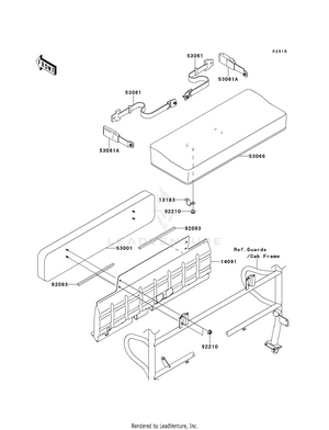
2009 Kawasaki MULE 4000 (KAF620P9F) OEM Parts

Set this as my ride