Kickstart your Riding Season with Bike Prep and Riding Gear Shop Now
CLOSE
Shipping to US Flag United States
Free shipping over $79
Moto Madness Sale | Get Up To 65% Off Parts & Gear Shop Now

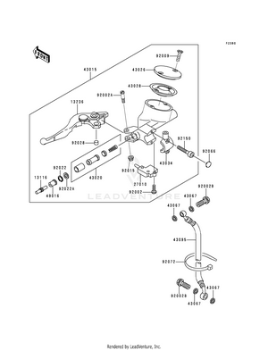
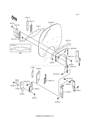
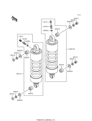
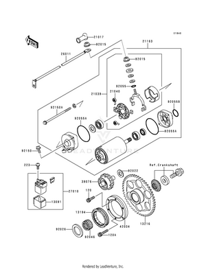
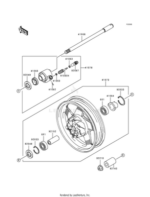
2000 Kawasaki VULCAN 1500 NOMAD FI - VN1500L OEM Parts

Set this as my ride