LUCKY YOU! Extra 10% Off Clearance | Use Code POTOGOLD10 Limited Time! Ends 3/21 Shop Now
CLOSE
Shipping to US Flag United States
Free shipping over $79
Moto Madness Sale | Get Up To 65% Off Parts & Gear Shop Now

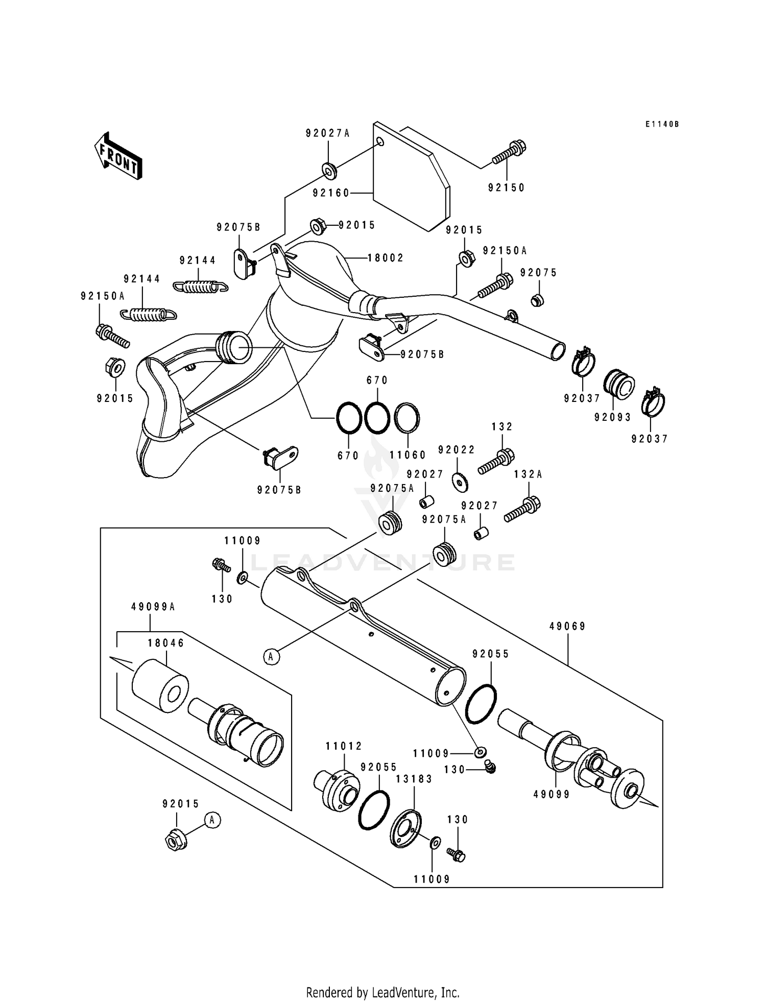
1991 Kawasaki KDX200 MUFFLER (KDX200-E3)

Set this as my ride
MUFFLER (KDX200-E3)

WARNING Cancer and Reproductive Harm www.P65Warnings.ca.gov.

  • # Part Retail Our Price
    Stock Status Suggested Quantity
  • 11009
    11009-1881 gasket,5.5x13x1.2
    This part is currently unavailable.
  • 11012
    11012-1739 cap,tail pipe
    This part is currently unavailable.
  • 11060
    In Stock
  • 13183
    13183-1569 plate,tail pipe
    This part is currently unavailable.
  • 18002
    18002-1933 body-comp-muffler
    This part is currently unavailable.
  • 18046
    18046-1115 wool,baffle pipe
    This part is currently unavailable.
  • 49069
    49069-1137 muffler-assy
    This part is currently unavailable.
  • 49099
    49099-1286 baffle-pipe muffler,f
    This part is currently unavailable.
  • 49099A
    49099-1287 baffle-pipe muffler,r
    This part is currently unavailable.
  • 92015
    92210-0630 nut,flanged,6mm Supersedes: 92015-1078 (NUT,FLANGED,6MM) Price: $2.30
    In Stock
  • 92022
    In Stock
  • 92027
    92027-1210 collar,6.8x10x11.5 Retail: $10.28 Price: $9.46
    In Stock
  • 92027A
    Expected to Ship in 4-9 Days
  • 92037
    Expected to Ship in 4-9 Days
  • 92055
    92055-1431 ring-o,61.6x3.5
    This part is currently unavailable.
  • 92075
    92075-1598 damper Price: $9.87
    In Stock
  • 92075A
    In Stock
  • 92075B
    92075-1891 damper,muffler Retail: $32.39 Price: See price in cart
    In Stock
  • 92093
    92093-1085 seal,muffler
    This part is currently unavailable.
  • 92144
    92144-1035 spring Retail: $10.53 Price: $9.69
    In Stock
  • 92150
    92150-1892 bolt Supersedes: 92150-1339 (BOLT,6X20) Price: $5.05
    In Stock
  • 92150A
    92150-1340 bolt,6x14
    This part is currently unavailable.
  • 92160
    92160-1145 damper,heat
    This part is currently unavailable.
  • 130
    130CA0510 bolt-flanged,5x10 Supersedes: 130P0510 (BOLT-FLANGED,5X10) Price: $2.16
    Expected to Ship in 4-9 Days
  • 132
    92153-1148 bolt,6x25 Supersedes: 132G0625 (BOLT-FLANGED-SMALL) Price: $1.31
    In Stock
  • 132A
    132BA0630 bolt-flanged-small,6x30 Supersedes: 132G0630 (BOLT-FLANGED-SMALL,6X30) Price: $3.05
    In Stock
  • 670
    670E3039 o ring Retail: $15.89 Price: $14.62
    In Stock
Added to your cart
CLOSE