Kickstart your Riding Season with Bike Prep and Riding Gear Shop Now
CLOSE
Shipping to US Flag United States
Free shipping over $79
Moto Madness Sale | Get Up To 65% Off Parts & Gear Shop Now

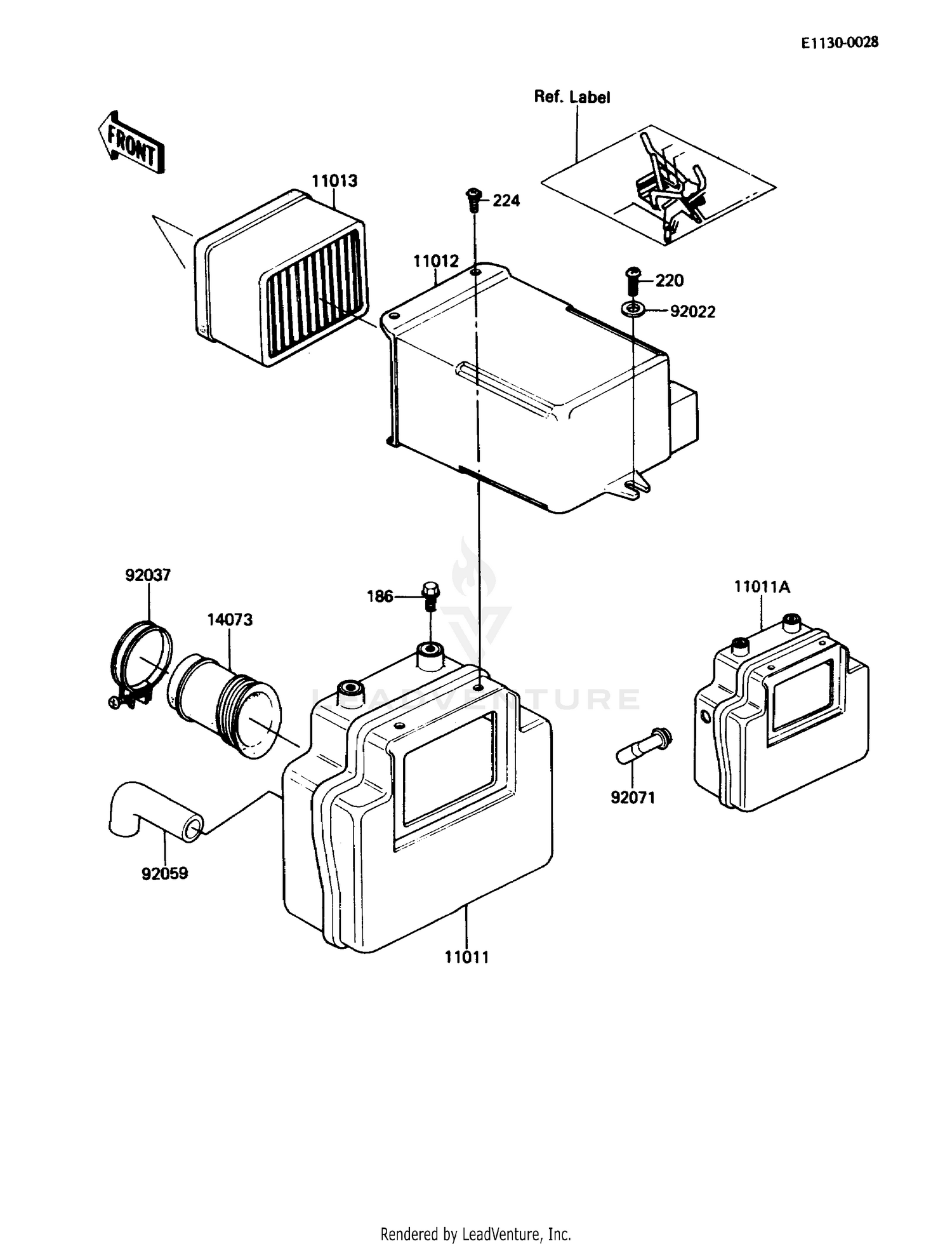
1987 Kawasaki LTD KZ305-B2 AIR CLEANER

Set this as my ride
AIR CLEANER

WARNING Cancer and Reproductive Harm www.P65Warnings.ca.gov.

  • # Part Retail Our Price
    Stock Status Suggested Quantity
  • 11011
    11011-1064 case-air filter [US]
    This part is currently unavailable.
  • 11011A
    11011-1254 case-air filter [CA] Retail: $80.45 Price: See price in cart
    Expected to Ship in 4-9 Days
  • 11012
    11012-1103 cap,air cleaner
    This part is currently unavailable.
  • 11013
    11013-1039 element,air clnr
    This part is currently unavailable.
  • 14073
    14073-1051 duct,air filter
    This part is currently unavailable.
  • 92022
    92022-1565 washer,6.5x16x2 Supersedes: 92022-116 (WASHER PLAIN) Price: $4.51
    In Stock
  • 92037
    92037-1006 clamp,57m/m
    This part is currently unavailable.
  • 92059
    92059-1166 tube,breather
    This part is currently unavailable.
  • 92071
    92071-1114 grommet,air filter [CA] Retail: $24.61 Price: See price in cart
    Expected to Ship in 4-9 Days
  • 186
    186BA0612 bolt-upset-wp,6x12 Supersedes: 186G0612 (BOLT-UPSET-WP) Price: $2.89
    Expected to Ship in 4-9 Days
  • 220
    220AA0614 screw-pan-cros,6x14 Supersedes: 92172-0273 (SCREW-PAN-CROSS,6X14) Price: $1.70
    In Stock
  • 224
    224AA0614 screw-pan-wp-cros,6x14 Supersedes: 92009-1333 (SCREW-PAN-WP-CROS,6X14) Price: $6.34
    In Stock
Added to your cart
CLOSE