BOGOS End Today! | Buy One Get One Deals Shop Now
CLOSE
Shipping to US Flag United States
Free shipping over $79
My Ride: 2003 Honda RINCON 650 4X4
Fast Cash Week Ends Today! | Earn $25 Fast Cash When You Spend $199 Learn More

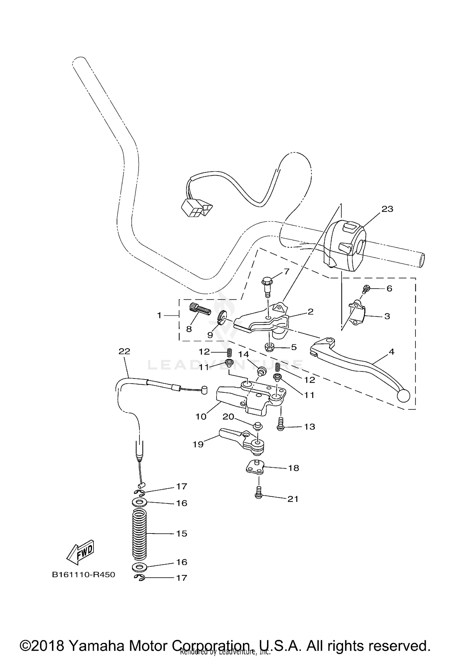
2019 Yamaha KODIAK 700 4WD HUNTER HANDLE SWITCH LEVER

Set this as my ride
HANDLE SWITCH LEVER

WARNING Cancer and Reproductive Harm www.P65Warnings.ca.gov.

Added to your cart
CLOSE