Begin typing to search, when autocomplete results are available use up and down arrows to review and enter to select. Selecting an options will take you to a new page. Touch device users, explore by touch.SEARCH
Search within a riding style, select an optionBegin typing to search, when autocomplete results are available use up and down arrows to review and enter to select. Selecting an options will take you to a new page. Touch device users, explore by touch.
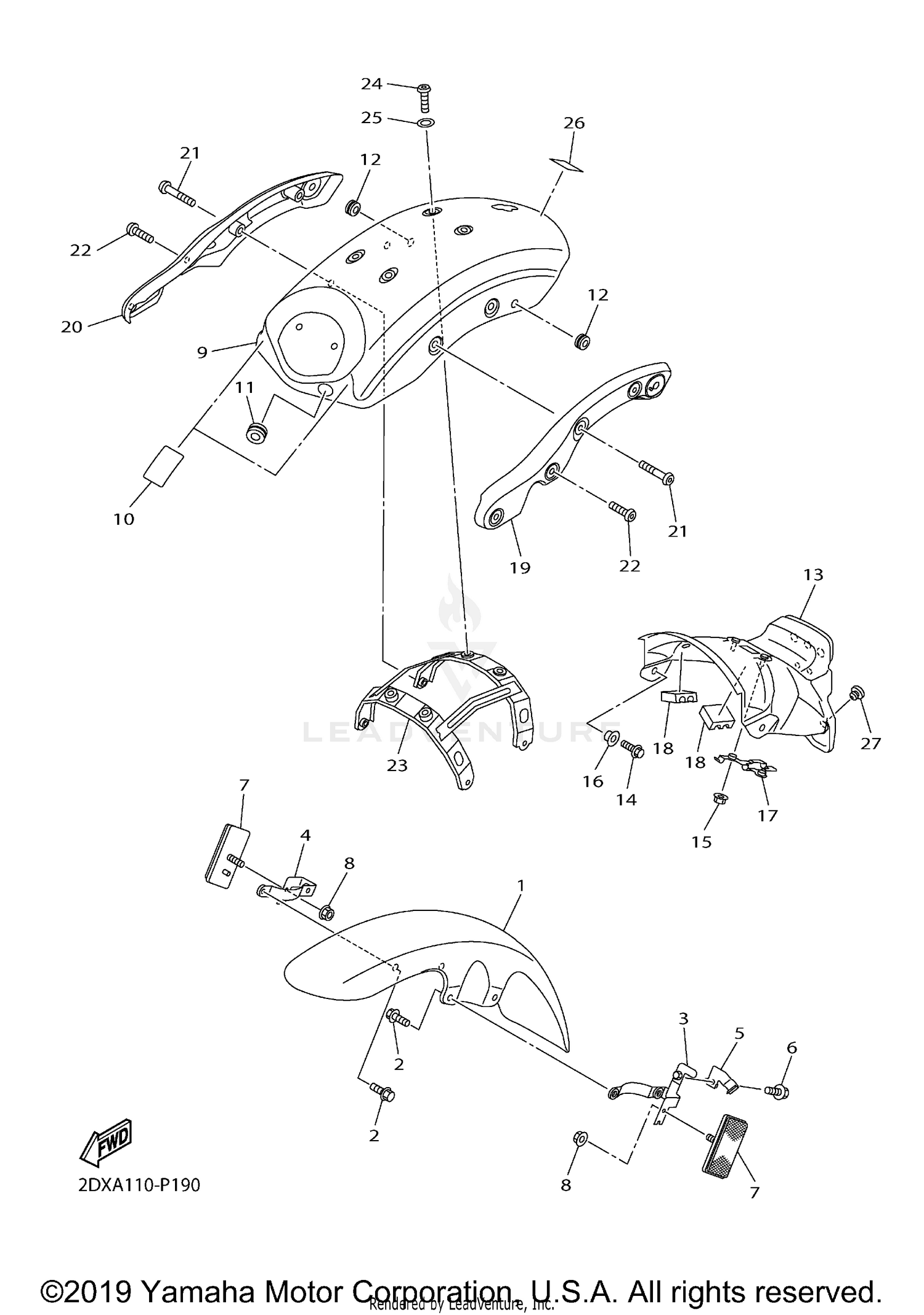
1TP-21610-01-P0 rear fender comp. SMXSupersedes: 1TP-21610-00-P0 (REAR FENDER COMP. | Use for Color Black Metallic X ( SMX / 0903 ))Retail: $1,207.16 Price:
$1,099.98