Kickstart your Riding Season with Bike Prep and Riding Gear Shop Now
CLOSE
Shipping to US Flag United States
Free shipping over $79
Moto Madness Sale | Get Up To 65% Off Parts & Gear Shop Now

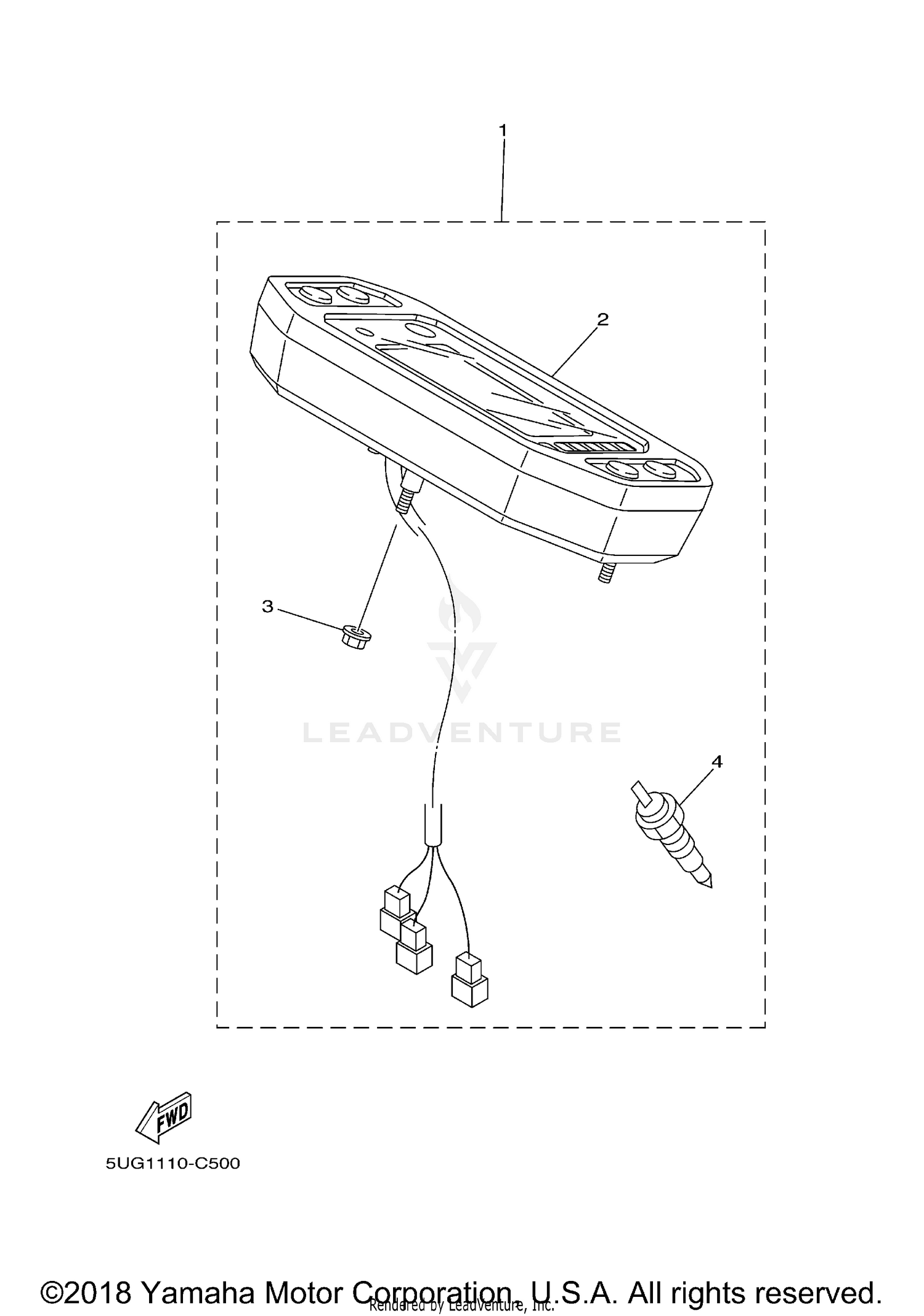
2006 Yamaha RHINO 450 ALTERNATE FOR METER

Set this as my ride
ALTERNATE FOR METER

WARNING Cancer and Reproductive Harm www.P65Warnings.ca.gov.

  • # Part Retail Our Price
    Stock Status Suggested Quantity
  • 1
    2P5-W0081-00-00 speedometer kit
    This part is currently unavailable.
  • 2
    2P5-83500-00-00 speedometer complete
    This part is currently unavailable.
  • 3
    95707-05500-00 nut, flange Supersedes: 95701-05500-00 (NUT, FLANGE) Price: $10.91
    Expected to Ship in 5-8 Days
  • 4
    5KM-82560-00-00 thermo switch assy Retail: $99.99 Price: $80.99
    In Stock
Added to your cart
CLOSE