Tire Rebates! Get Up To $70 Back Shop Now
CLOSE
Shipping to US Flag United States
Free shipping over $79
My Ride: 2007 Yamaha RHINO 660
Moto Madness Sale | Get Up To 65% Off Parts & Gear Shop Now

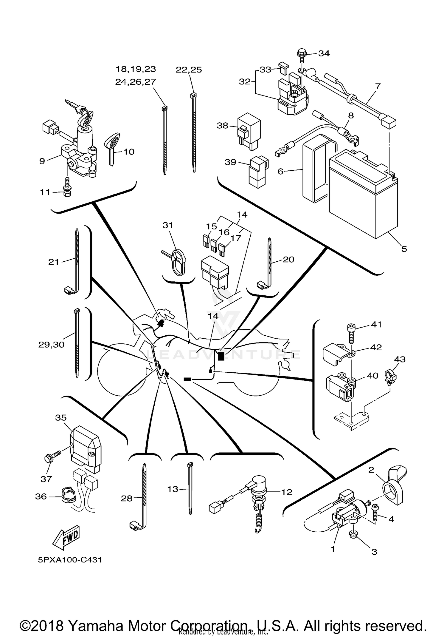
2005 Yamaha ROAD STAR 1700 WARRIOR - XV17PC ELECTRICAL 2

Set this as my ride
ELECTRICAL 2

WARNING Cancer and Reproductive Harm www.P65Warnings.ca.gov.

Added to your cart
CLOSE