Kickstart your Riding Season with Bike Prep and Riding Gear Shop Now
CLOSE
Shipping to US Flag United States
Free shipping over $79
My Ride: 2000 Honda TRX400EX
Bargain Bin Blowout! | Save 40-90% Off! Shop Now

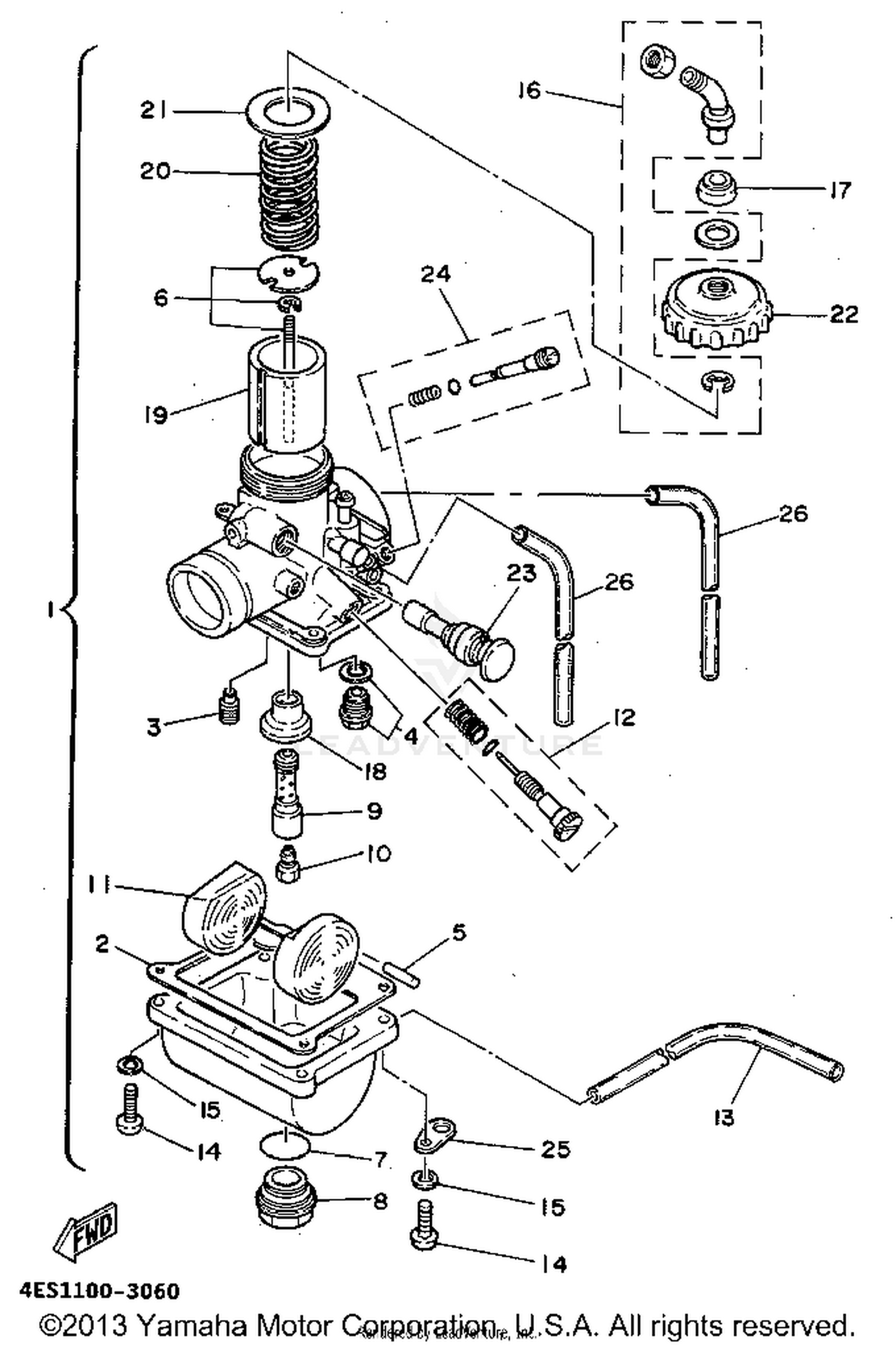
1994 Yamaha YZ80 CARBURETOR

Set this as my ride
CARBURETOR

WARNING Cancer and Reproductive Harm www.P65Warnings.ca.gov.

  • # Part Retail Our Price
    Stock Status Suggested Quantity
  • 1
    4ES-14101-01-00 carburetor assembly 1
    This part is currently unavailable.
  • 2
    304-14184-00-00 gasket, float chamber Retail: $15.49 Price: $13.32
    In Stock
  • 3
    260-14142-35-00 jet, pilot ( 35) STD Retail: $10.99 Price: $9.45
    Expected to Ship in 5-8 Days
  • Expected to Ship in 5-8 Days
  • 260-14142-30-00 jet, pilot ( 30) AP Retail: $10.99 Price: $9.45
    Expected to Ship in 5-8 Days
  • 3R1-14141-54-00 nozzle, main AP
    This part is currently unavailable.
  • 3R1-14141-50-00 nozzle, main AP
    This part is currently unavailable.
  • 137-14143-60-A0 jet, main (#300) AP Supersedes: 137-14143-60-00 (JET, MAIN (300)) Retail: $12.99 Price: $11.17
    Expected to Ship in 5-8 Days
  • 137-14143-56-A0 jet, main (#280) AP Retail: $12.99 Price: $11.17
    Expected to Ship in 5-8 Days
  • 2X6-14112-25-00 valve, throttle 1 AP
    This part is currently unavailable.
  • 2X6-14112-35-00 valve, throttle 1 AP
    This part is currently unavailable.
  • 4
    23L-14107-25-00 needle valve set Retail: $46.99 Price: $40.41
    Expected to Ship in 5-8 Days
  • 5
    Expected to Ship in 5-8 Days
  • 6
    58T-1490J-00-00 needle set
    This part is currently unavailable.
  • 7
    3JE-14561-00-00 o-ring Supersedes: 93210-18288-00 (O-RING) Retail: $17.99 Price: $15.47
    Expected to Ship in 5-8 Days
  • 8
    3R1-14115-00-00 plug, screw
    This part is currently unavailable.
  • 9
    3R1-14141-52-00 nozzle, main STD
    This part is currently unavailable.
  • 10
    137-14143-58-A1 jet, main (#290) STD Supersedes: 137-14143-58-00 (JET, MAIN (290)) Retail: $13.99 Price: $12.03
    Expected to Ship in 5-8 Days
  • 11
    314-14185-00-00 float Retail: $72.99 Price: $59.12
    Expected to Ship in 5-8 Days
  • 12
    31J-14103-00-00 throttle screw set Retail: $41.99 Price: $36.11
    Expected to Ship in 5-8 Days
  • 13
    3XV-14348-20-00 pipe Supersedes: 3X3-14197-00-00 (PIPE) Retail: $22.99 Price: $19.77
    In Stock
  • 14
    98517-04016-00 screw, pan head Supersedes: 98507-04016-00 (SCREW, PAN HEAD (98511-04016-) Price: $10.91
    In Stock
  • 15
    92990-04100-00 washer, spring Supersedes: 92903-04100-00 (WASHER, SPRING) Price: $1.66
    In Stock
  • 16
    22W-14106-00-00 cable adjust screw set
    This part is currently unavailable.
  • 17
    3X3-14169-00-00 cap Retail: $17.99 Price: $15.47
    Expected to Ship in 5-8 Days
  • 18
    39K-14153-00-00 washer, main jet
    This part is currently unavailable.
  • 19
    2X6-14112-30-00 valve, throttle 1 STD
    This part is currently unavailable.
  • 20
    In Stock
  • 21
    2A6-14126-00-00 gasket Retail: $12.99 Price: $11.17
    Expected to Ship in 5-8 Days
  • 22
    2A6-14158-00-00 top, mixing chamber
    This part is currently unavailable.
  • 23
    3SB-14171-00-00 plunger, starter
    This part is currently unavailable.
  • 24
    10W-14104-00-00 air screw set Retail: $16.49 Price: $14.18
    Expected to Ship in 5-8 Days
  • 25
    Expected to Ship in 5-8 Days
  • 26
    55X-14196-00-00 pipe Retail: $21.99 Price: $18.91
    Expected to Ship in 5-8 Days
Added to your cart
CLOSE