Kickstart your Riding Season with Bike Prep and Riding Gear Shop Now
CLOSE
Shipping to US Flag United States
Free shipping over $79
Moto Madness Sale | Get Up To 65% Off Parts & Gear Shop Now

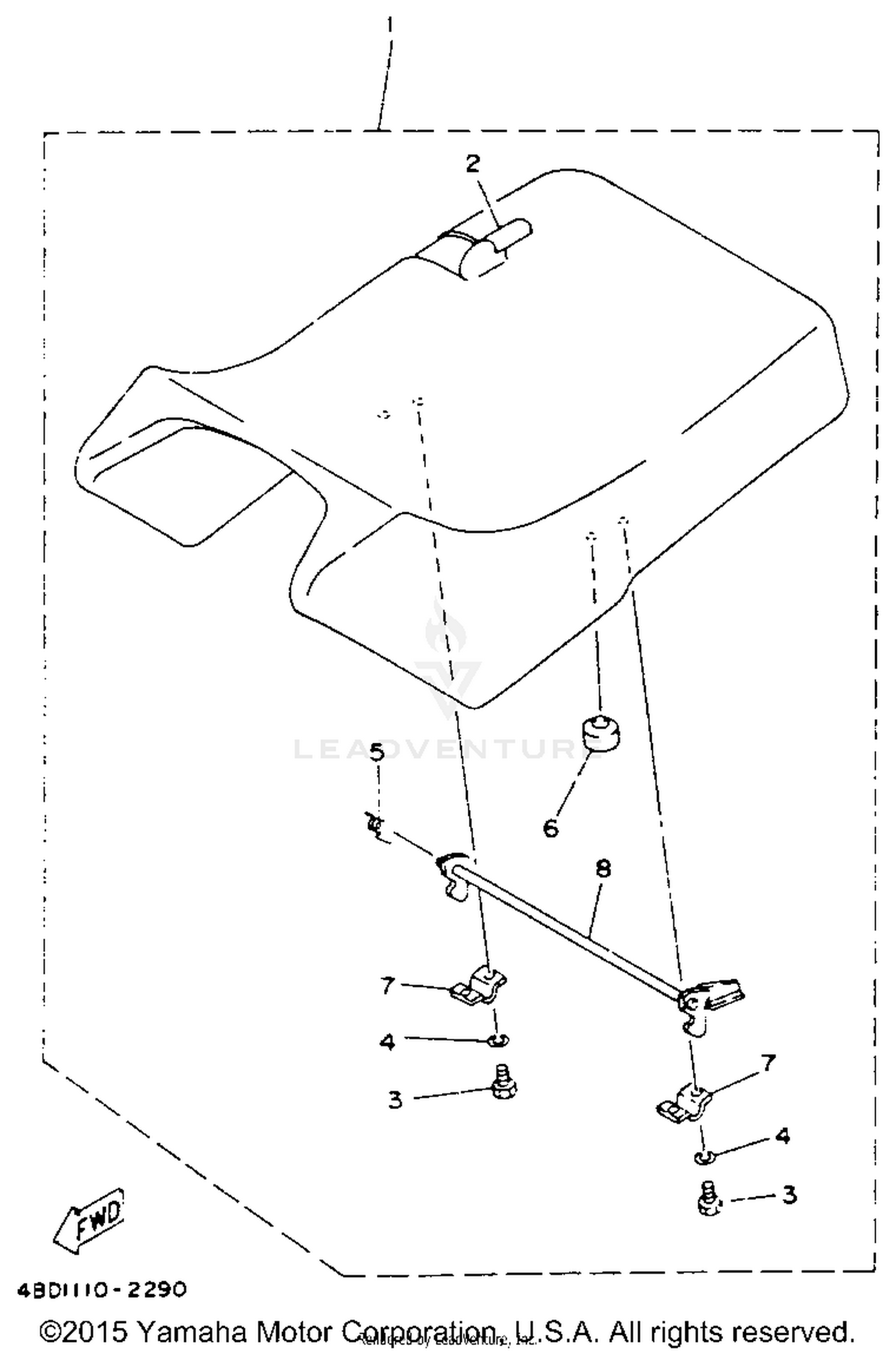
1993 Yamaha TIMBERWOLF 250 2X4 SEAT

Set this as my ride
SEAT

WARNING Cancer and Reproductive Harm www.P65Warnings.ca.gov.

  • # Part Retail Our Price
    Stock Status Suggested Quantity
  • 1
    4BD-24710-20-00 single seat assembly UR FOREST GREEN
    This part is currently unavailable.
  • 4BD-24710-30-00 single seat assembly UR SOLID FINE SILVER
    This part is currently unavailable.
  • 4BD-24731-30-00 cover, seat UR SOLID FINE SILVER Retail: $153.99 Price: $123.19
    Expected to Ship in 5-8 Days
  • 2
    4BD-24731-20-00 cover, double seat UR FOREST GREEN
    This part is currently unavailable.
  • 3
    97D95-06016-00 bolt, hexagon deep r Supersedes: 97024-06016-00 (BOLT, HEXAGON DEEP R) Price: $3.17
    Expected to Ship in 5-8 Days
  • 4
    92995-06100-00 washer, spring Supersedes: 92990-06100-00 (WASHER, WAVE) Price: $3.97
    Expected to Ship in 5-8 Days
  • 5
    Expected to Ship in 5-8 Days
  • 6
    In Stock
  • 7
    59V-24775-00-00 bracket, seat lever
    This part is currently unavailable.
  • 8
    4BD-24776-01-00 lever, seat Supersedes: 4BD-24776-00-00 (LEVER, SEAT) Retail: $30.99 Price: $26.65
    Expected to Ship in 5-8 Days
Added to your cart
CLOSE