LUCKY YOU! Extra 10% Off Clearance | Use Code POTOGOLD10 Limited Time! Ends 3/18 Shop Now
CLOSE
Shipping to US Flag United States
Free shipping over $79
My Ride: 2025 Yamaha YZF - R1
Moto Madness Sale | Get Up To 65% Off Parts & Gear Shop Now

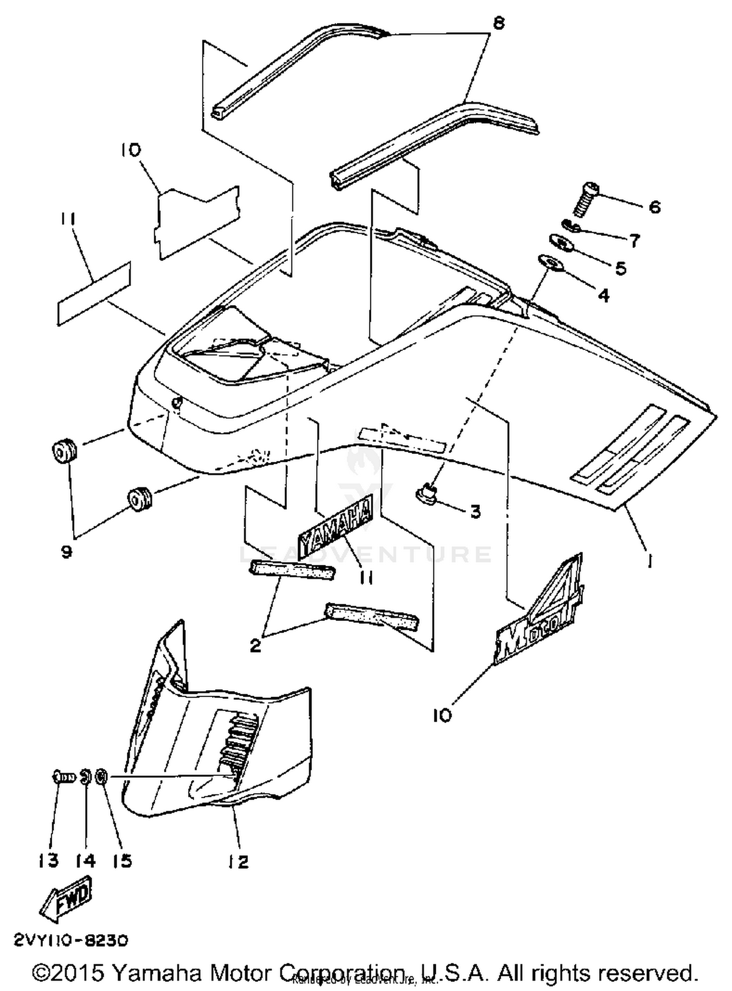
1988 Yamaha YFM200 MOTO-4 SIDE COVER

Set this as my ride
SIDE COVER

WARNING Cancer and Reproductive Harm www.P65Warnings.ca.gov.

  • # Part Retail Our Price
    Stock Status Suggested Quantity
  • 1
    1NU-21710-30-00 side cover assembly 1 CHAPPY RD
    This part is currently unavailable.
  • 2FH-21710-00-00 side cover assembly 1 U.R. WHITE 1 Retail: $228.99 Price: $183.19
    Expected to Ship in 5-8 Days
  • 99244-00100-00 emblem, yamaha Supersedes: 99234-00025-00 (EMBLEM, YAMAHA) Retail: $22.99 Price: $19.77
    Expected to Ship in 5-8 Days
  • 2
    4YR-21649-00-00 damper Supersedes: 52H-21746-00-00 (DAMPER)
    This part is currently unavailable.
  • 3
    90387-062X0-00 collar Supersedes: 90387-076L8-00 (COLLAR) Retail: $22.99 Price: $19.77
    In Stock
  • 4
    90201-104G5-00 washer, plate
    This part is currently unavailable.
  • 5
    90201-06086-00 washer, plate Supersedes: 90201-061H3-00 (WASHER, PLATE) Price: $9.76
    In Stock
  • 6
    98580-06020-00 screw, pan head Supersedes: 97880-06020-00 (SCREW, PAN HEAD) Price: $10.91
    In Stock
  • 7
    92995-06100-00 washer, spring Supersedes: 92990-06100-00 (WASHER, WAVE) Price: $3.97
    Expected to Ship in 5-8 Days
  • 8
    4WV-2171L-00-00 mole, side cover 1 Supersedes: 2GU-2171L-00-00 (MOLE, SIDE COVER 1) Price: $10.91
    Expected to Ship in 5-8 Days
  • 9
    In Stock
  • 10
    2VA-21781-00-00 emblem 1
    This part is currently unavailable.
  • 11
    99241-00100-00 emblem, yamaha Use for Color CHAPPY RED ( CPR / 00E1 ) Supersedes: 99241-00025-00 (EMBLEM, YAMAHA)
    This part is currently unavailable.
  • 12
    52H-2171A-00-00 cover, top Retail: $57.99 Price: $46.97
    Expected to Ship in 5-8 Days
  • 13
    90157-05M19-00 screw, pan head Supersedes: 95807-05016-00 (SCREW, PAN HEAD) Price: $4.20
    Expected to Ship in 5-8 Days
  • 14
    92907-05100-00 washer, spring Supersedes: 9290M-05100-00 (WASHER, SPRING) Price: $10.91
    In Stock
  • 15
    92907-05600-00 washer, plate Supersedes: 92906-05600-00 (WASHER, PLATE) Price: $1.15
    In Stock
Added to your cart
CLOSE