FMF Exhausts Up To 10% Off Shop Now
CLOSE
Shipping to US Flag United States
Free shipping over $79
My Ride: 2005 Honda RANCHER 400 4X4
Bargain Bin Blowout Ends Tomorrow! | Save 40-90% Off! Shop Now

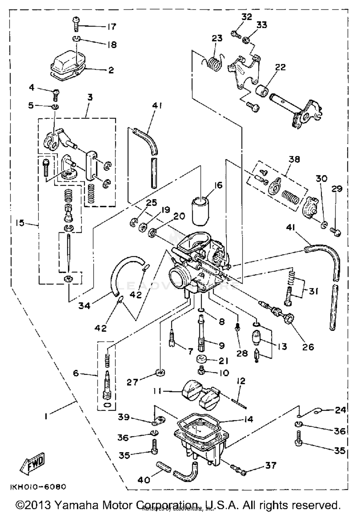
1987 Yamaha TT225T CARBURETOR

Set this as my ride
CARBURETOR

WARNING Cancer and Reproductive Harm www.P65Warnings.ca.gov.

Added to your cart
CLOSE