Kickstart your Riding Season with Bike Prep and Riding Gear Shop Now
CLOSE
Shipping to US Flag United States
Free shipping over $79
Moto Madness Sale | Get Up To 65% Off Parts & Gear Shop Now

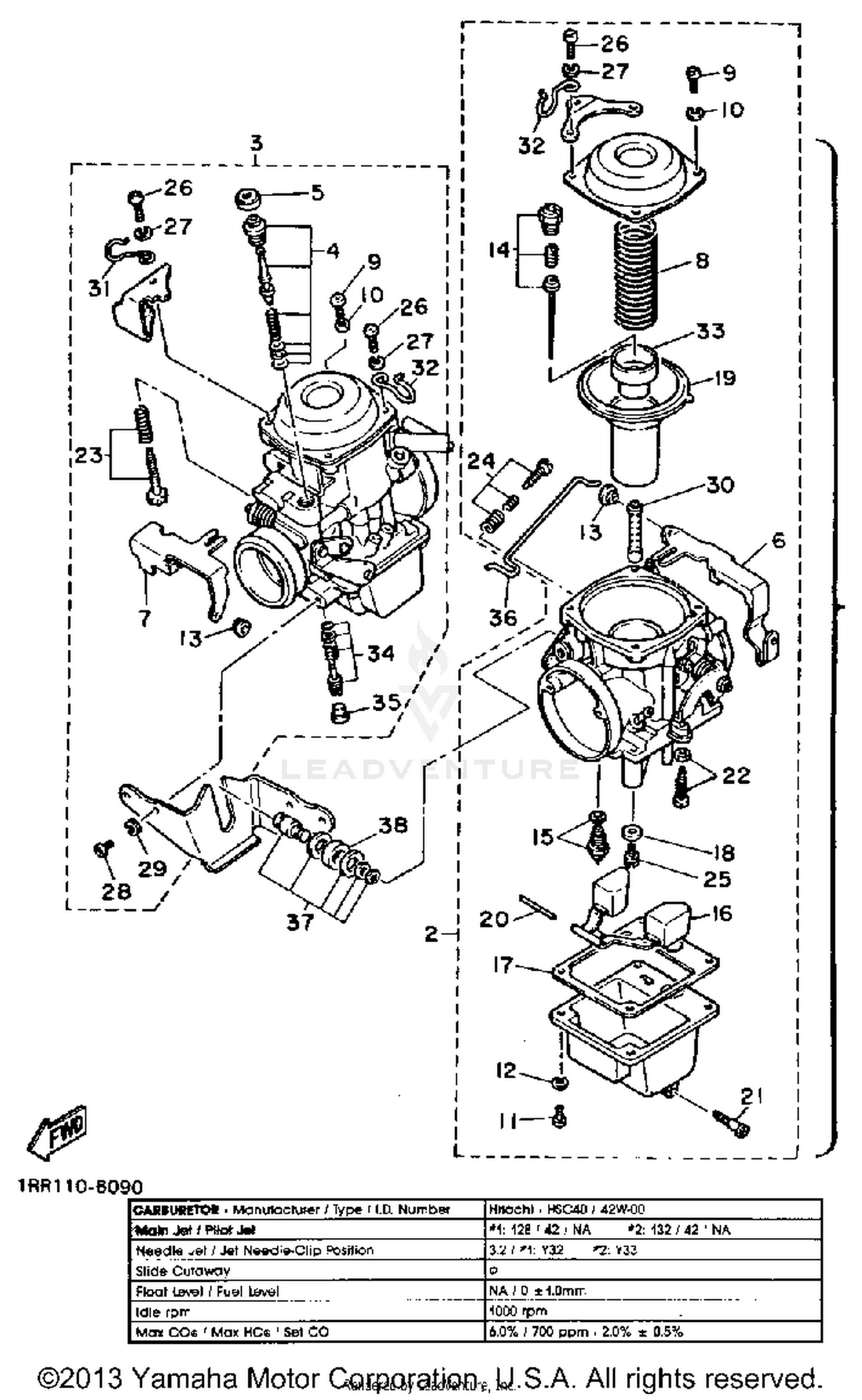
1986 Yamaha VIRAGO 700 - XV700 CARBURETOR

Set this as my ride
CARBURETOR

WARNING Cancer and Reproductive Harm www.P65Warnings.ca.gov.

  • # Part Retail Our Price
    Stock Status Suggested Quantity
  • 1
    42-W1490-00-10 unavailable in price book (cs/c N/A
    This part is currently unavailable.
  • 1
    1R-V1490-00-00 unavailable in price book (csc/ N/A
    This part is currently unavailable.
  • 2
    1RV-14901-00-00 carburetor assembly 1 (csc/ct
    This part is currently unavailable.
  • 2
    Expected to Ship in 5-8 Days
  • 3
    42W-14902-02-00 carburetor assembly 2 (cs/ct)
    This part is currently unavailable.
  • 3
    1RV-14902-00-00 carburetor assembly 2 (csc/ct
    This part is currently unavailable.
  • 4
    4X7-14371-01-00 plunger, starter
    This part is currently unavailable.
  • 5
    4H7-14173-00-00 cover, plunger cap
    This part is currently unavailable.
  • 6
    10L-14976-01-00 lever, starter 2 Retail: $36.99 Price: $31.81
    Expected to Ship in 5-8 Days
  • 7
    10L-14976-11-00 lever, starter 2
    This part is currently unavailable.
  • 8
    42X-14933-00-00 spring, diaphragm
    This part is currently unavailable.
  • 9
    98580-05012-00 screw, pan head Supersedes: 98504-05012-00 (SCREW, PAN HEAD) Retail: $9.19 Price: $1.77
    In Stock
  • 10
    92990-05100-00 washer, spring Supersedes: 92901-05100-00 (WASHER, SPRING) Price: $0.61
    Expected to Ship in 5-8 Days
  • 11
    97885-05016-00 screw, pan head Supersedes: 98580-05016-00 (SCREW, PAN HEAD)
    This part is currently unavailable.
  • 12
    92990-05100-00 washer, spring Supersedes: 92901-05100-00 (WASHER, SPRING) Price: $0.61
    Expected to Ship in 5-8 Days
  • 13
    4X7-14998-01-00 bush
    This part is currently unavailable.
  • 14
    4X7-14916-33-00 needle y-33ok (4x7-14916-30 U.R. #2
    This part is currently unavailable.
  • 14
    4X7-14916-29-00 needle y-29 U.R. #1
    This part is currently unavailable.
  • 14
    4X7-14916-29-00 needle y-29 U.R. #1
    This part is currently unavailable.
  • 15
    10L-14390-02-00 needle valve assembly (4x7-14 U.R. #2
    This part is currently unavailable.
  • 16
    10L-14985-01-00 float
    This part is currently unavailable.
  • 17
    10L-14984-02-00 gasket, float chmbr
    This part is currently unavailable.
  • 18
    4H7-14945-00-00 washer, main jet
    This part is currently unavailable.
  • 19
    42X-14940-00-00 diaphragm assembly
    This part is currently unavailable.
  • 20
    4H7-14186-00-00 pin, float
    This part is currently unavailable.
  • 21
    4X7-14191-01-00 plug, drain
    This part is currently unavailable.
  • 22
    4X7-14321-02-00 screw, throttle
    This part is currently unavailable.
  • 23
    4X7-14121-02-00 screw, thrtl stop
    This part is currently unavailable.
  • 24
    4X7-14522-01-00 screw, adjust
    This part is currently unavailable.
  • 25
    4X7-14925-24-00 jet, main (#124) U.R. #1
    This part is currently unavailable.
  • 25
    4X7-14925-28-00 jet, main U.R. #2
    This part is currently unavailable.
  • 25
    4X7-14925-32-00 jet, main (#132) 2 U.R.
    This part is currently unavailable.
  • 26
    97885-05016-00 screw, pan head Supersedes: 98580-05016-00 (SCREW, PAN HEAD)
    This part is currently unavailable.
  • 27
    92990-05100-00 washer, spring Supersedes: 92901-05100-00 (WASHER, SPRING) Price: $0.61
    Expected to Ship in 5-8 Days
  • 28
    98507-06014-00 screw, pan head Supersedes: 98503-06016-00 (SCREW, PAN HEAD) Price: $10.91
    Expected to Ship in 5-8 Days
  • 29
    92995-06100-00 washer, pan head Supersedes: 92990-06100-00 (WASHER, WAVE) Price: $3.97
    Expected to Ship in 5-8 Days
  • 30
    42X-14921-32-00 nozzle, main
    This part is currently unavailable.
  • 31
    22N-14139-00-00 clip, pipe
    This part is currently unavailable.
  • 32
    10L-14937-00-00 clip
    This part is currently unavailable.
  • 33
    Expected to Ship in 5-8 Days
  • 34
    10L-14923-01-00 screw, pilot
    This part is currently unavailable.
  • 35
    10L-14118-11-00 cap (10l-14118-01)
    This part is currently unavailable.
  • 36
    4X7-14177-01-00 rod, starter lever
    This part is currently unavailable.
  • 37
    Expected to Ship in 5-8 Days
  • 38
    4X7-14267-00-00 roller
    This part is currently unavailable.
Added to your cart
CLOSE