BOGOS | Buy One Get One Deals Shop Now
CLOSE
Shipping to US Flag United States
Free shipping over $79
Fast Cash Week | Earn $25 Fast Cash When You Spend $199 Learn More

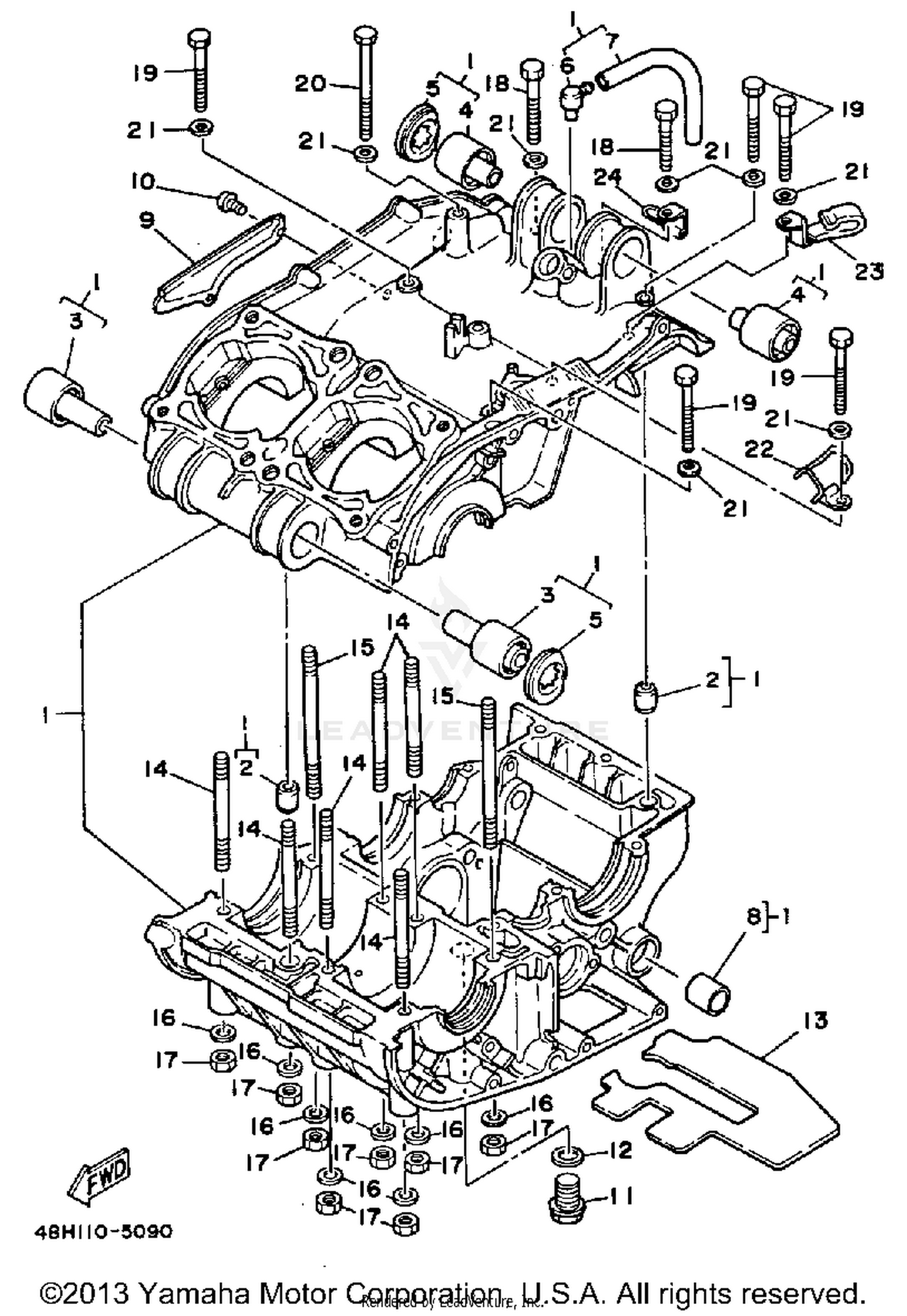
1985 Yamaha RZ350 CRANKCASE

Set this as my ride
CRANKCASE

WARNING Cancer and Reproductive Harm www.P65Warnings.ca.gov.

  • # Part Retail Our Price
    Stock Status Suggested Quantity
  • 1
    29L-15100-03-00 crankcase assembly
    This part is currently unavailable.
  • 2
    99530-12016-00 pin, dowel Supersedes: 91810-05018-00 (PIN, DOWEL) Price: $5.62
    Expected to Ship in 5-8 Days
  • 3
    90388-10006-00 damper Supersedes: 2GU-15316-00-00 (DAMPER, ENGINE MOUNT 1) Retail: $33.99 Price: $29.23
    Expected to Ship in 5-8 Days
  • 4
    90388-10007-00 damper Supersedes: 4L0-15326-00-00 (DAMPER, ENG MOUNT 2) Retail: $35.99 Price: $30.95
    Expected to Ship in 5-8 Days
  • 5
    2YK-15328-01-00 spacer, damper Supersedes: 2YK-15328-00-00 (SPACER, DAMPER (4L0-15328-00))
    This part is currently unavailable.
  • 6
    583-15371-00-00 breather Supersedes: 120-15371-00-00 (BREATHER) Price: $8.61
    In Stock
  • 7
    90446-07241-00 hose (3ak) Supersedes: 90446-07112-00 (HOSE) Retail: $11.49 Price: $9.88
    Expected to Ship in 5-8 Days
  • 8
    90383-12022-00 bush, formed Retail: $11.49 Price: $9.88
    Expected to Ship in 5-8 Days
  • 9
    In Stock
  • 10
    97885-05010-00 screw, pan head Supersedes: 97801-05010-00 (SCREW, PAN HEAD)
    This part is currently unavailable.
  • 11
    90109-14385-00 bolt Retail: $18.49 Price: $15.90
    Expected to Ship in 5-8 Days
  • 12
    4F4-14766-00-00 gasket, drain Supersedes: 137-15353-00-00 (GASKET, DRAIN) Price: $8.61
    In Stock
  • 13
    48H-15337-00-00 collar
    This part is currently unavailable.
  • 14
    Expected to Ship in 5-8 Days
  • 15
    90116-08232-00 bolt, stud Retail: $13.49 Price: $11.60
    Expected to Ship in 5-8 Days
  • 16
    Expected to Ship in 5-8 Days
  • 17
    95333-08600-00 nut Supersedes: 95301-08600-00 (NUT (6L2)) Price: $4.37
    In Stock
  • 18
    97013-06045-00 bolt Supersedes: 97311-06045-00 (BOLT, HEXAGON) Price: $2.07
    Expected to Ship in 5-8 Days
  • 19
    97013-06060-00 bolt, hex Supersedes: 97313-06060-00 (BOLT, HEXAGON) Price: $9.76
    Expected to Ship in 5-8 Days
  • 20
    97017-06090-00 bolt Supersedes: 97311-06090-00 (BOLT, HEXAGON) Price: $3.97
    In Stock
  • 21
    92990-06200-00 washer, plain Supersedes: 92995-06200-00 (WASHER, PLAIN) Price: $1.15
    In Stock
  • 22
    90462-16130-00 clamp Retail: $14.49 Price: $12.46
    Expected to Ship in 5-8 Days
  • 23
    90465-08135-00 clamp
    This part is currently unavailable.
  • 24
    90465-06094-00 clamp Retail: $13.49 Price: $11.60
    Expected to Ship in 5-8 Days
Added to your cart
CLOSE