Tire Rebates! Get Up To $70 Back Shop Now
CLOSE
Shipping to US Flag United States
Free shipping over $79
Moto Madness Sale | Get Up To 65% Off Parts & Gear Shop Now

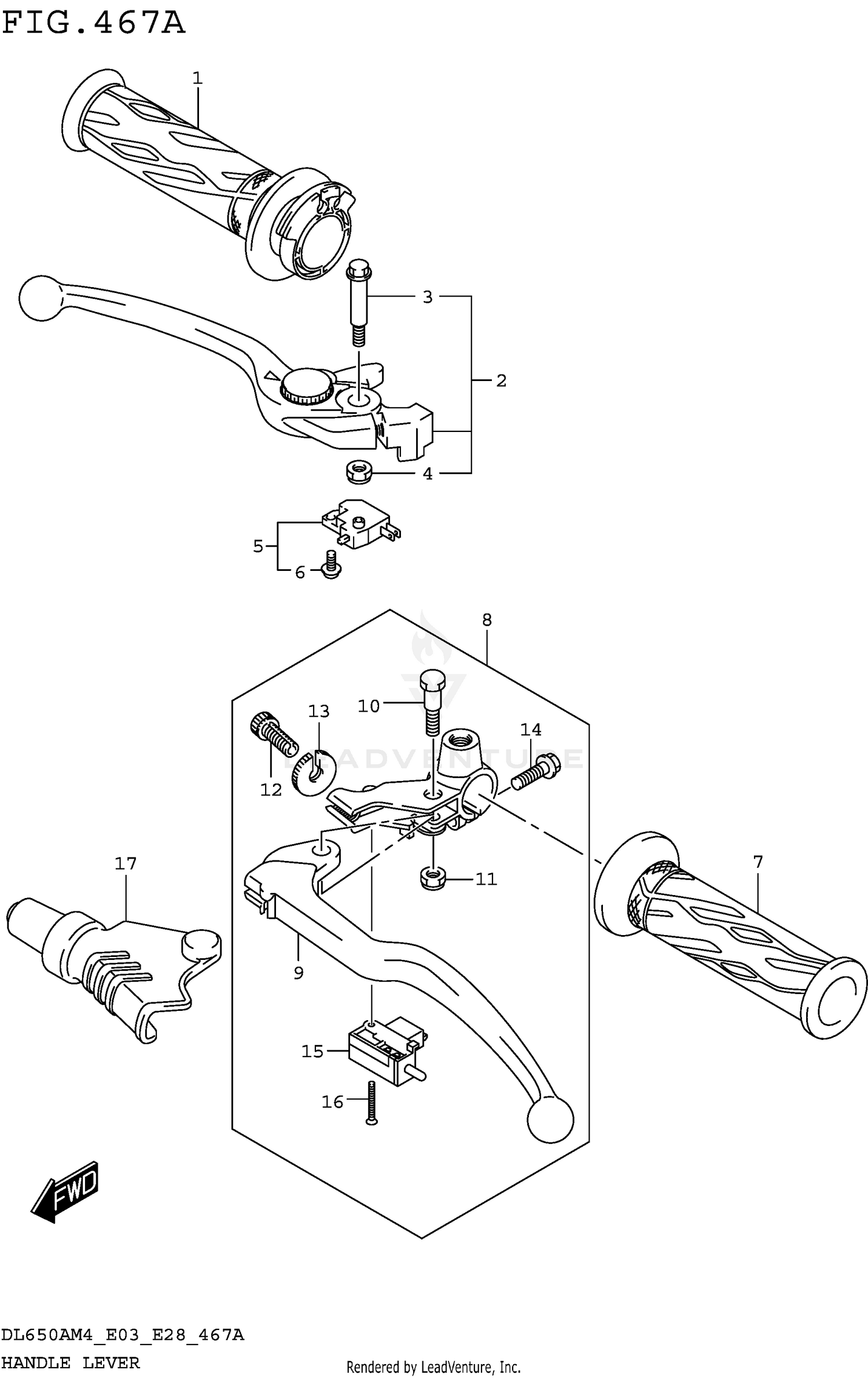
2024 Suzuki V-STROM - DL650X HANDLE LEVER (DL650AM4 E03)

Set this as my ride
HANDLE LEVER (DL650AM4 E03)

WARNING Cancer and Reproductive Harm www.P65Warnings.ca.gov.

All 2024 Suzuki V-STROM - DL650X Part Groups
Added to your cart
CLOSE