Kickstart your Riding Season with Bike Prep and Riding Gear Shop Now
CLOSE
Shipping to US Flag United States
Free shipping over $79
My Ride: 2012 Triumph Scrambler
Moto Madness Sale | Get Up To 65% Off Parts & Gear Shop Now

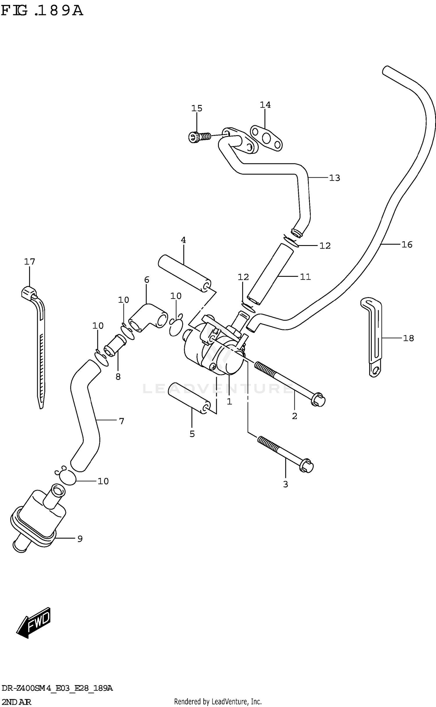
2024 Suzuki DRZ400S 2ND AIR

Set this as my ride
2ND AIR

WARNING Cancer and Reproductive Harm www.P65Warnings.ca.gov.

All 2024 Suzuki DRZ400S Part Groups
Added to your cart
CLOSE