HOT DEAL! 100% | Up To 40% Off Shop Now
CLOSE
Shipping to US Flag United States
Free shipping over $79
Spring Sale Bargain Bin Save 40% - 90% Off! Shop Now

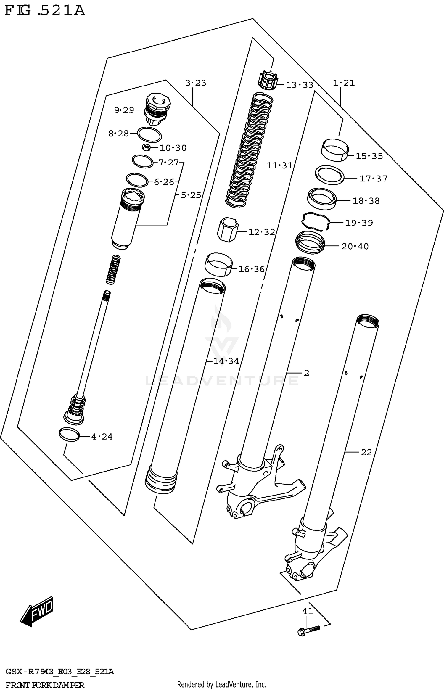
2023 Suzuki GSXR750 FRONT FORK DAMPER

Set this as my ride
FRONT FORK DAMPER

WARNING Cancer and Reproductive Harm www.P65Warnings.ca.gov.

All 2023 Suzuki GSXR750 Part Groups
Added to your cart
CLOSE