BOGOS | Buy One Get One Deals Shop Now
CLOSE
Shipping to US Flag United States
Free shipping over $79
My Ride: 2008 Yamaha RAPTOR 700
Fast Cash Week | Earn $25 Fast Cash When You Spend $199 Learn More

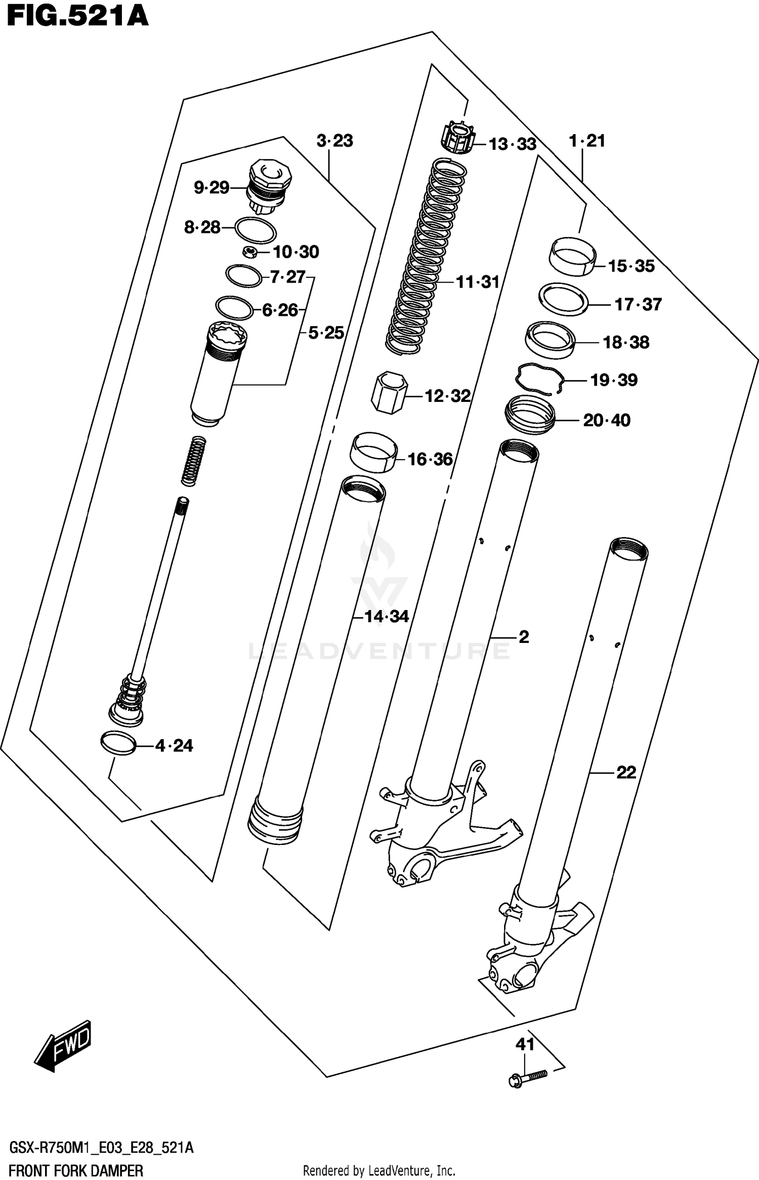
2021 Suzuki GSXR750M FRONT FORK DAMPER

Set this as my ride
FRONT FORK DAMPER

WARNING Cancer and Reproductive Harm www.P65Warnings.ca.gov.

All 2021 Suzuki GSXR750M Part Groups
Added to your cart
CLOSE