LUCKY YOU! Extra 10% Off Clearance | Use Code POTOGOLD10 Limited Time! Ends 3/21 Shop Now
CLOSE
Shipping to US Flag United States
Free shipping over $79
Moto Madness Sale | Get Up To 65% Off Parts & Gear Shop Now

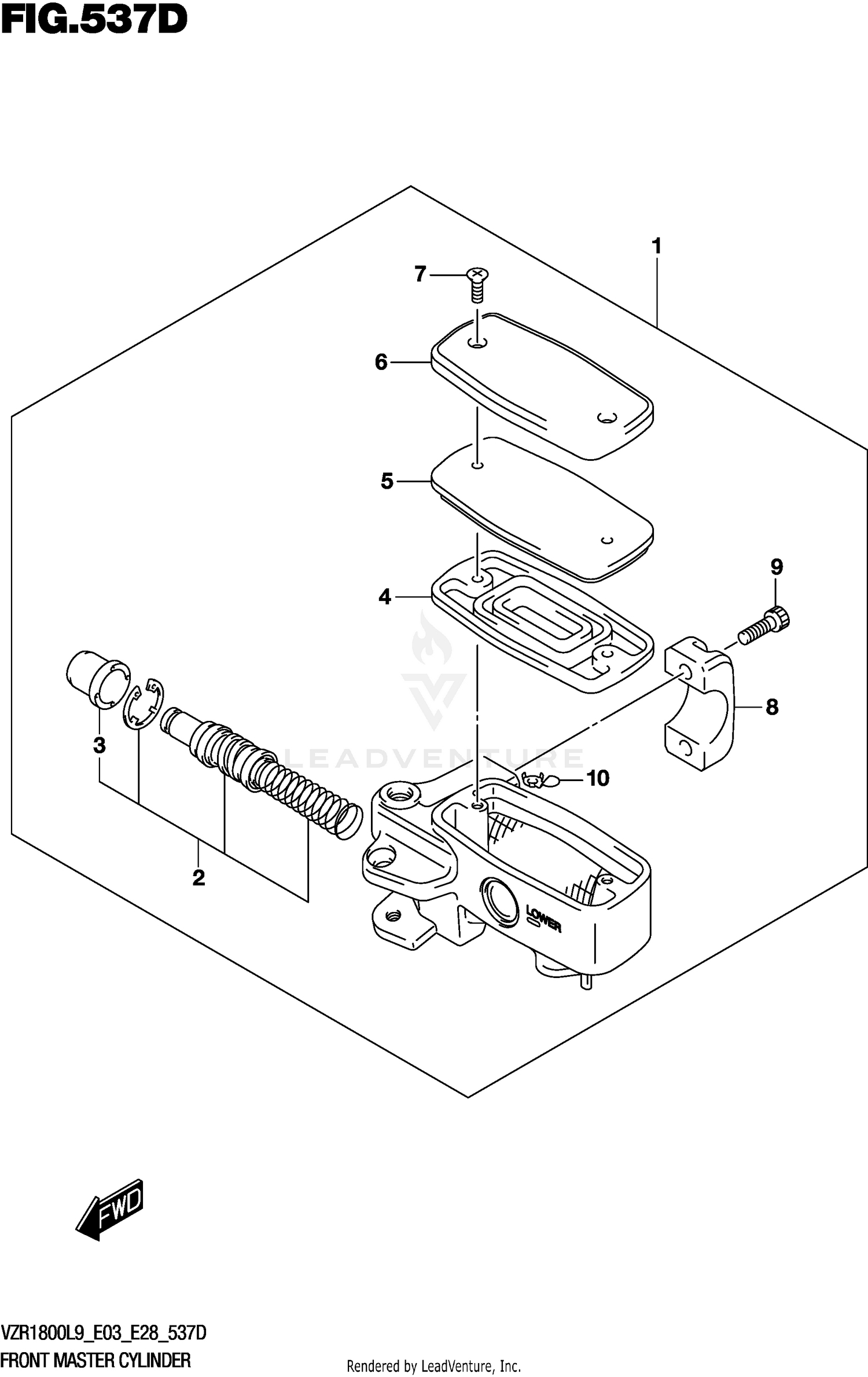
2019 Suzuki VZR1800 FRONT MASTER CYLINDER (VZR1800BZL9 E33)

Set this as my ride
FRONT MASTER CYLINDER (VZR1800BZL9 E33)

WARNING Cancer and Reproductive Harm www.P65Warnings.ca.gov.

All 2019 Suzuki VZR1800 Part Groups
Added to your cart
CLOSE