Tire Rebates! Get Up To $70 Back Shop Now
CLOSE
Shipping to US Flag United States
Free shipping over $79
My Ride: 2012 Triumph Scrambler
Moto Madness Sale | Get Up To 65% Off Parts & Gear Shop Now

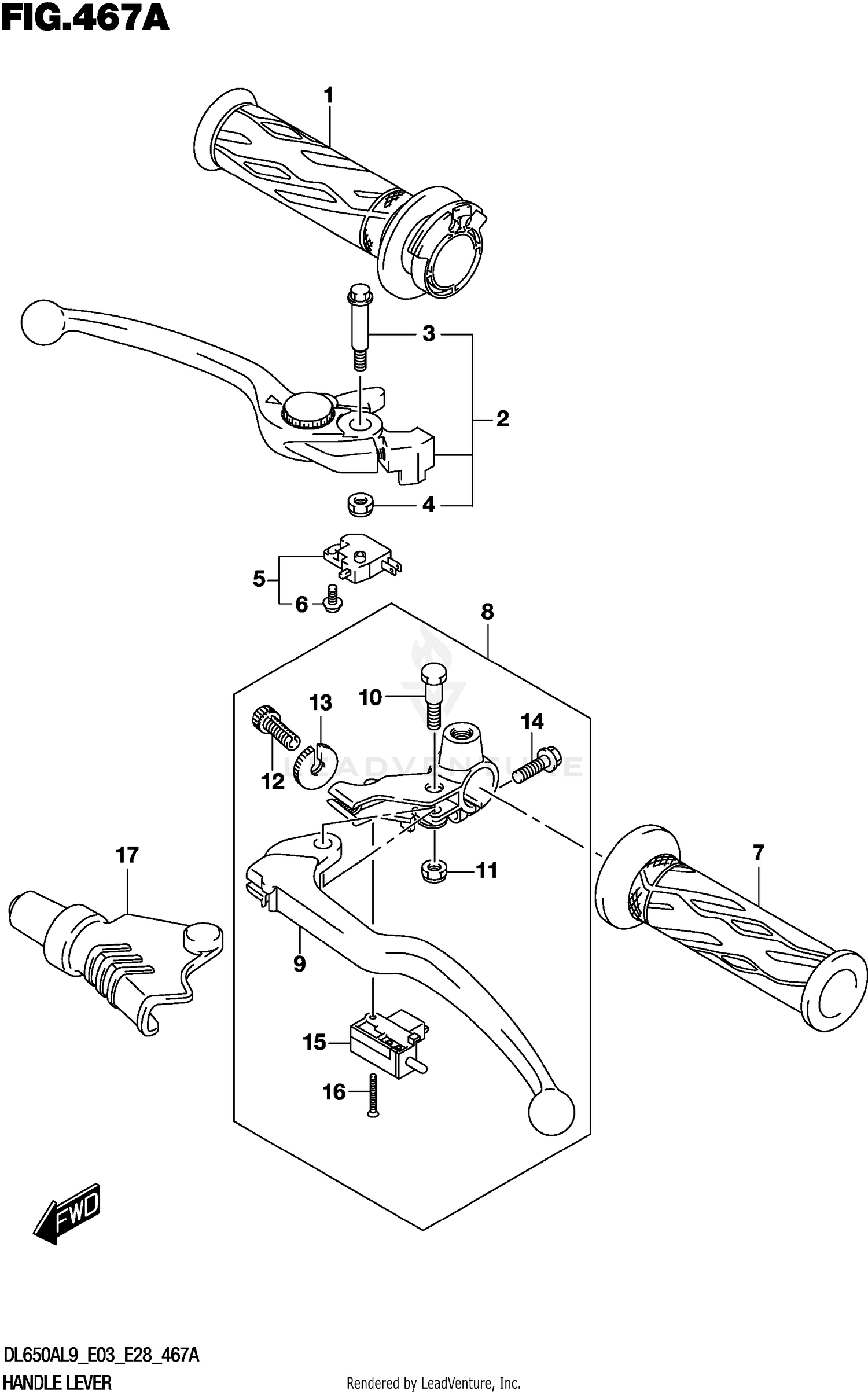
2019 Suzuki V-STROM - DL650A HANDLE LEVER (DL650A)

Set this as my ride
HANDLE LEVER (DL650A)

WARNING Cancer and Reproductive Harm www.P65Warnings.ca.gov.

All 2019 Suzuki V-STROM - DL650A Part Groups
Added to your cart
CLOSE