Renthal Deal! Up To 10% Off Shop Now
CLOSE
Shipping to US Flag United States
Free shipping over $79
My Ride: 2019 Textron STAMPEDE
Moto Madness Sale | Get Up To 65% Off Parts & Gear Shop Now

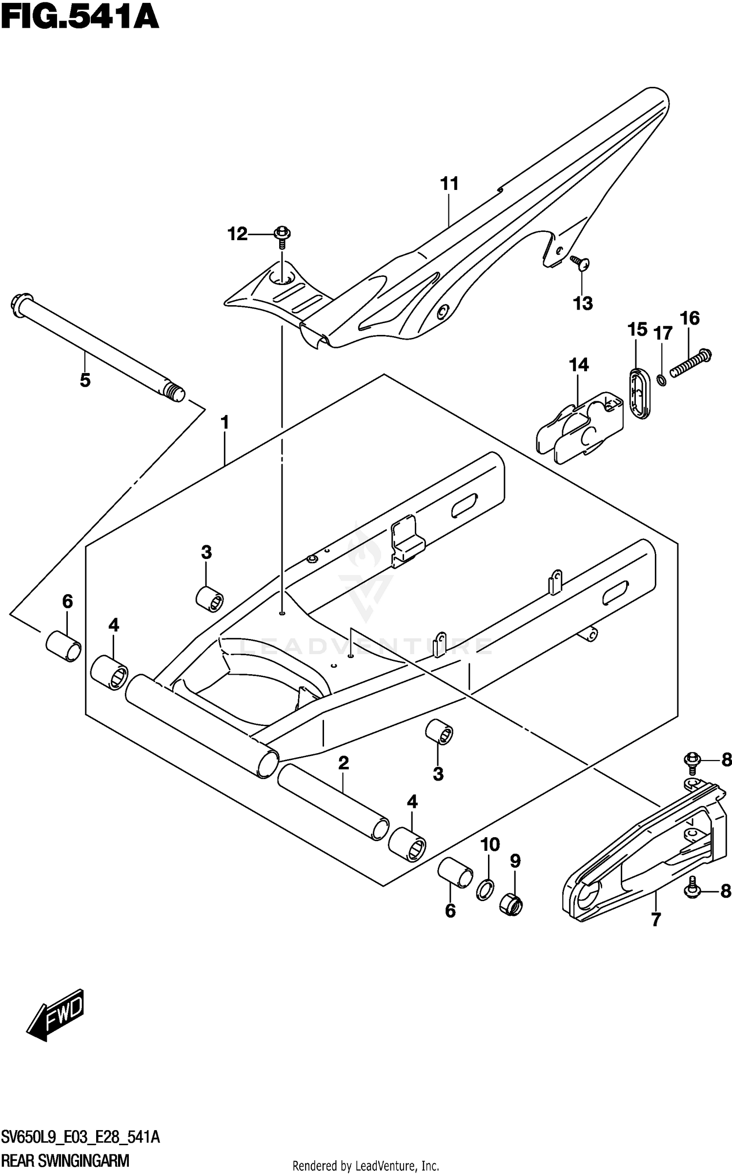
2019 Suzuki SV650 REAR SWINGINGARM

Set this as my ride
REAR SWINGINGARM

WARNING Cancer and Reproductive Harm www.P65Warnings.ca.gov.

All 2019 Suzuki SV650 Part Groups
Added to your cart
CLOSE