Kickstart your Riding Season with Bike Prep and Riding Gear Shop Now
CLOSE
Shipping to US Flag United States
Free shipping over $79
Bargain Bin Blowout! | Save 40-90% Off! Shop Now

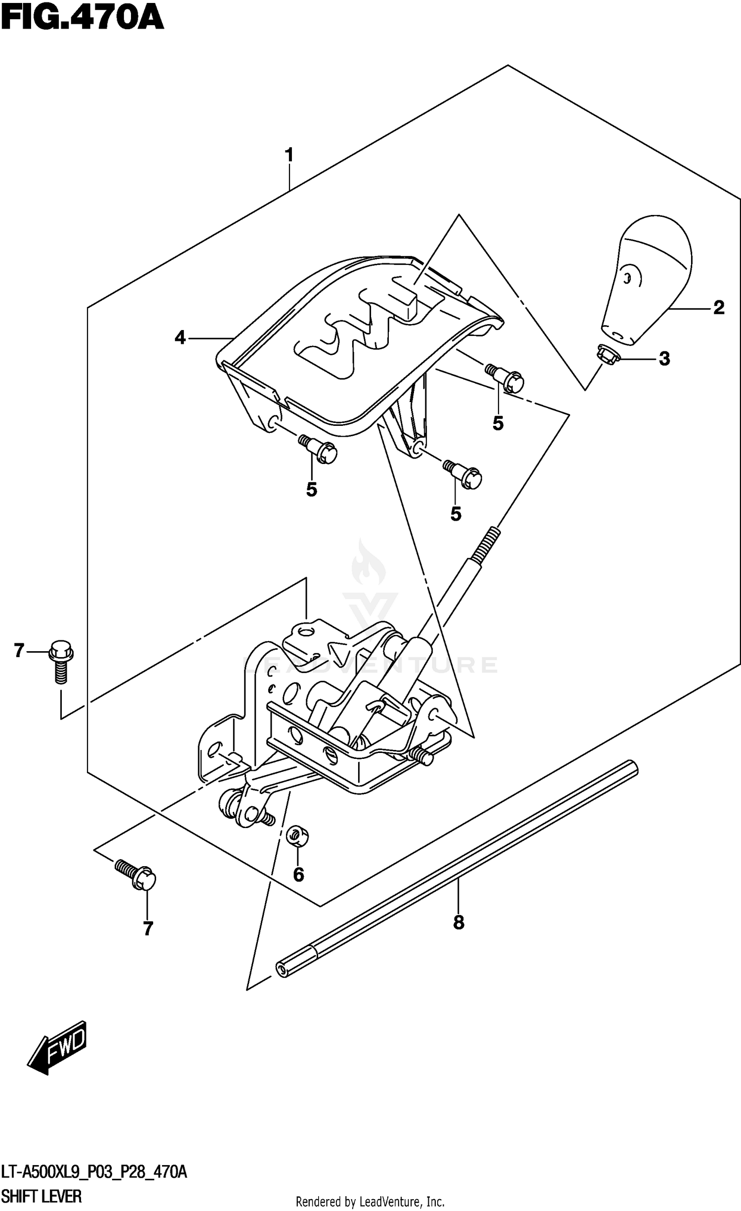
2019 Suzuki KING QUAD 500 XP SHIFT LEVER

Set this as my ride
SHIFT LEVER

WARNING Cancer and Reproductive Harm www.P65Warnings.ca.gov.

All 2019 Suzuki KING QUAD 500 XP Part Groups
Added to your cart
CLOSE